EasyManua.ls Logo

Bertazzoni F45CONMOWX - Troubleshooting and Maintenance; Common Issues and Solutions; Light Bulb Replacement

Bertazzoni F45CONMOWX
76 pages
Print Icon
To Next Page IconTo Next Page
To Next Page IconTo Next Page
To Previous Page IconTo Previous Page
To Previous Page IconTo Previous Page
Loading...
34
EN
What should I do if the oven doesn’t work?
WARNING! Any type of repair must only be
done by a specialised technician. Any repair
done by a person not authorised by the
manufacturer is dangerous.
You do not need to contact Technical Assistance
to resolve the following questions:
The display is not showing! Check if:
- The time indication has been switched off
(see section on Basic Settings).
Nothing happens when I press the keys!
Check if:
- The Safety Block is active (see section on
Basic Settings).
The oven does not work! Check if:
- The plug is correctly fitted in the socket.
- The oven’s power is switched on.
- The door is completely closed. The door
should close with an audible click.
- There are any foreign bodies between the
door and the cavity front.
When the oven is operating I can hear
some strange noises! Check if:
- There is any electrical arcing inside the oven
caused by foreign metallic objects (see
section on type of ovenware).
- The ovenware is touching the oven walls.
- There are any loose items of cutlery or
cooking tools inside the oven.
The food doesn’t heat up or heats very
slowly! Check if:
- You have inadvertently used metal
ovenware.
- You have selected the correct operating
times and power level.
- The food you have put inside the oven is a
larger amount or colder than you usually put in.
The food is too hot, dried out or burnt!
Check if you selected the correct operating
time and power level.
I hear some noises after the cooking
process is finished! This is not a problem.
The cooling fan keeps on working for some
time. When the temperature has dropped
sufficiently, the fan will switch itself off.
The oven switches on but the interior
light does not go on! If all the functions
work properly it is probable that the lamp
has blown. You can keep on using the oven.
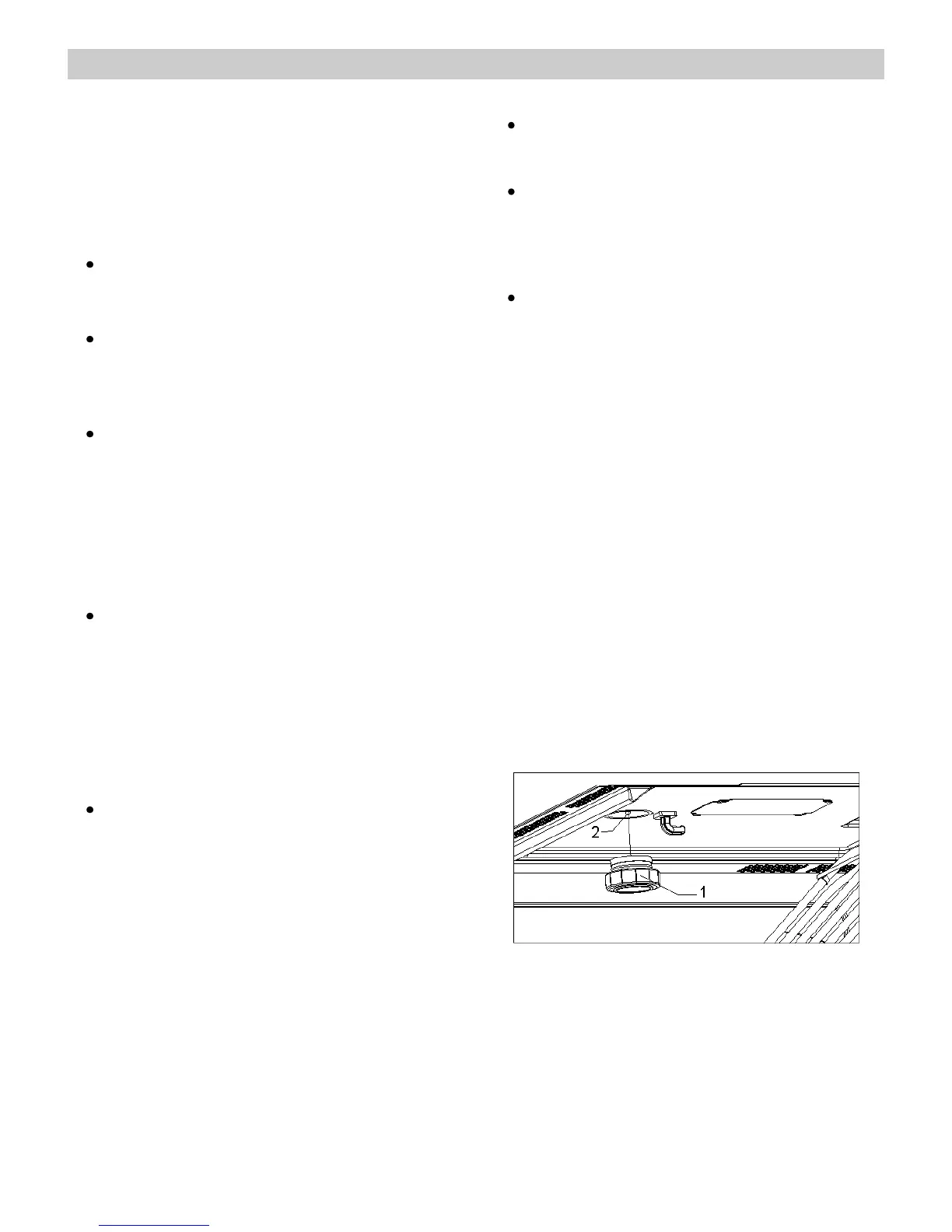
Substitution of light bulb
To substitute the light bulb, proceed as follows:
- Disconnect the oven from the power supply.
Take the plug out of the socket or switch off
the oven’s power circuit.
- Unscrew and remove the glass light cover
(1).
- Remove the halogen light bulb (2). Warning!
The bulb may be very hot.
- Fit a new 12V / 10W halogen bulb. Warning!
Do not touch the light bulb surface
directly with your fingers because you
may damage the bulb. Follow the lamp
manufacturer’s instructions.
- Screw the glass light cover into place (1).
- Connect the oven again to the power supply.

Table of Contents

Related product manuals