EasyManua.ls Logo

Big Daishowa LEVEL MASTER WIRELESS - Page 4

Default Icon
12 pages
Print Icon
To Next Page IconTo Next Page
To Next Page IconTo Next Page
To Previous Page IconTo Previous Page
To Previous Page IconTo Previous Page
Loading...
Insert 4 batteries (LR03: AAA) as indicated in the battery box.
Slide and fit the cover.
Slide to remove the cover of the battery box.
Remove the protective cover.
[BUZZER]
[SET]
[POWER]
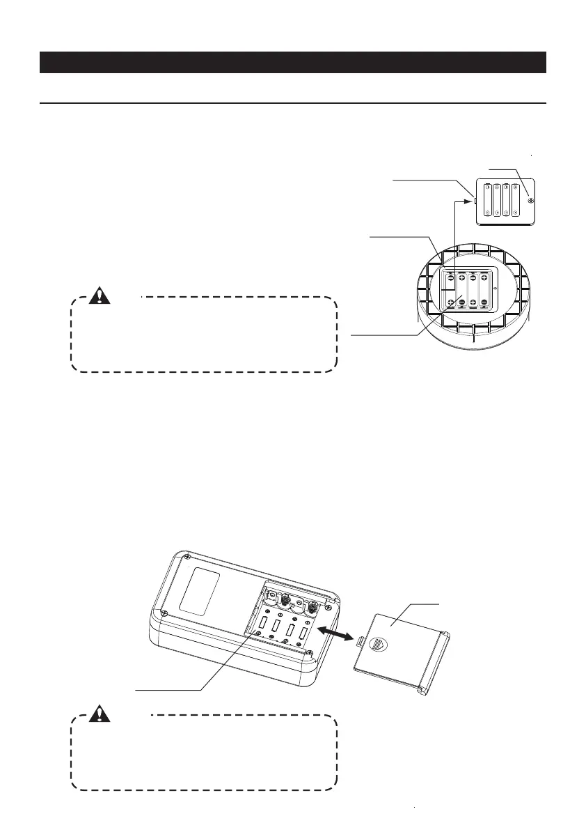
INSTALL THE BATTERIES
3.HOW TO INSTALL THE BATTERIES
Body
Insert the 4 batteries included (LR03: AAA) in the base of the
batteries box as indicated on the figure on the right.
After have installed the batteries, insert the projecting part of the
cover into the recess of the batteries box. Then, secure the cover
by tightening the screw.
 
Loose the screw of the cover of the batteries box. 
Batteries box
Batteries box
Batteries
LR03 (AAA) x4
Cover
Projecting part
of the cover
Screw
Always check the polarity of the batteries. If the batteries
are inserted with the polarity inverted, the device may not
work and the internal electric circuit may get damaged
making the device not utilizable.
Always check the polarity of the batteries. If the batteries
are inserted with the polarity inverted, the device may not
work and the internal electric circuit may get damaged
making the device not utilizable.
Caution
Caution
Receiver
When the inclination is within 0.01( HIGH mode)
or within 0.1 (LOW mode), the LED (blue) turns
on and the buzzer emits a sound. It is possible to
turn on/off the buzzer's sound by using the
switch of the device.
5-2How to turn on/off the buzzer Receiver
5-3How to reset the device to its default values Receiver
To reset the device to its default values (delivery
condition), push the "SET" switch while turning ON the
power. The internal data are cleared.
OPERATIONS