EasyManua.ls Logo

Binatone FHD500GW - Overview of Your Dashcam

Binatone FHD500GW
24 pages
Print Icon
To Next Page IconTo Next Page
To Next Page IconTo Next Page
To Previous Page IconTo Previous Page
To Previous Page IconTo Previous Page
Loading...
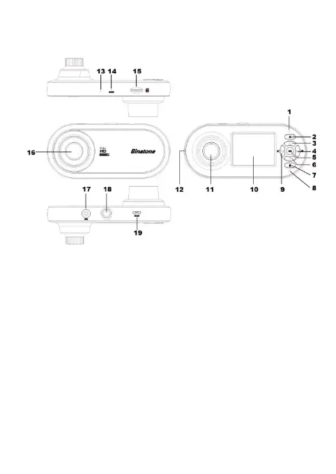
4. Overview of your Dashcam
1. Charge Indicator:
Red: Charging
Yellow: Full charged
2. Power on/off button:
LCD on/off when s hort press in power-on
state.
3. Up Button:
Rewind during playback.
Take photo when short press in recording
Front and rear camera switcher when long
press in playback mode
4. Mode Button
Video/playback mode switcher
6

Related product manuals