EasyManua.ls Logo

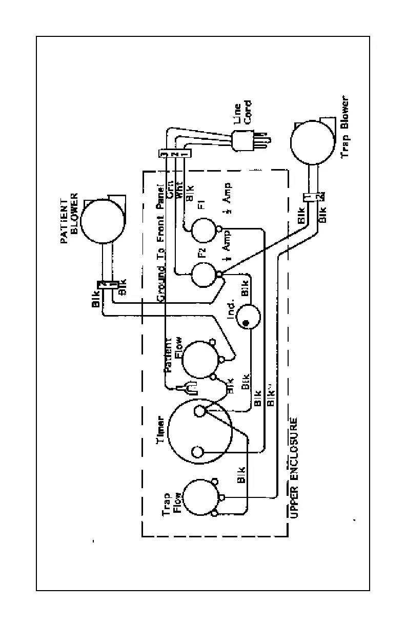
biodex 130-502 - Wiring Schematic C

biodex 130-502
24 pages
Print Icon
To Next Page IconTo Next Page
To Next Page IconTo Next Page
To Previous Page IconTo Previous Page
To Previous Page IconTo Previous Page
Loading...
(-*1&8.(
– 22

Related product manuals