EasyManua.ls Logo

BioLogic BCS-815 - European PDU Model: Power Line

Default Icon
87 pages
Print Icon
To Next Page IconTo Next Page
To Next Page IconTo Next Page
To Previous Page IconTo Previous Page
To Previous Page IconTo Previous Page
Loading...
BCS-8xx installation manual
73
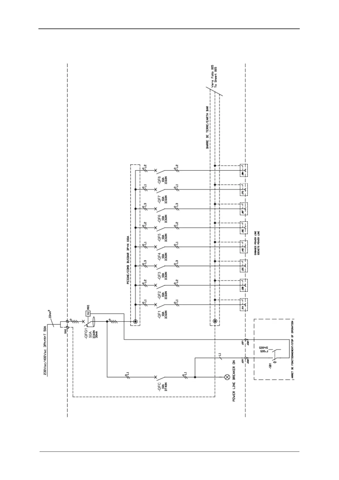
10.2.3 European PDU model: Power line

Table of Contents

Related product manuals