EasyManua.ls Logo

BIRO 44 - Page 28

BIRO 44
36 pages
Print Icon
To Next Page IconTo Next Page
To Next Page IconTo Next Page
To Previous Page IconTo Previous Page
To Previous Page IconTo Previous Page
Loading...
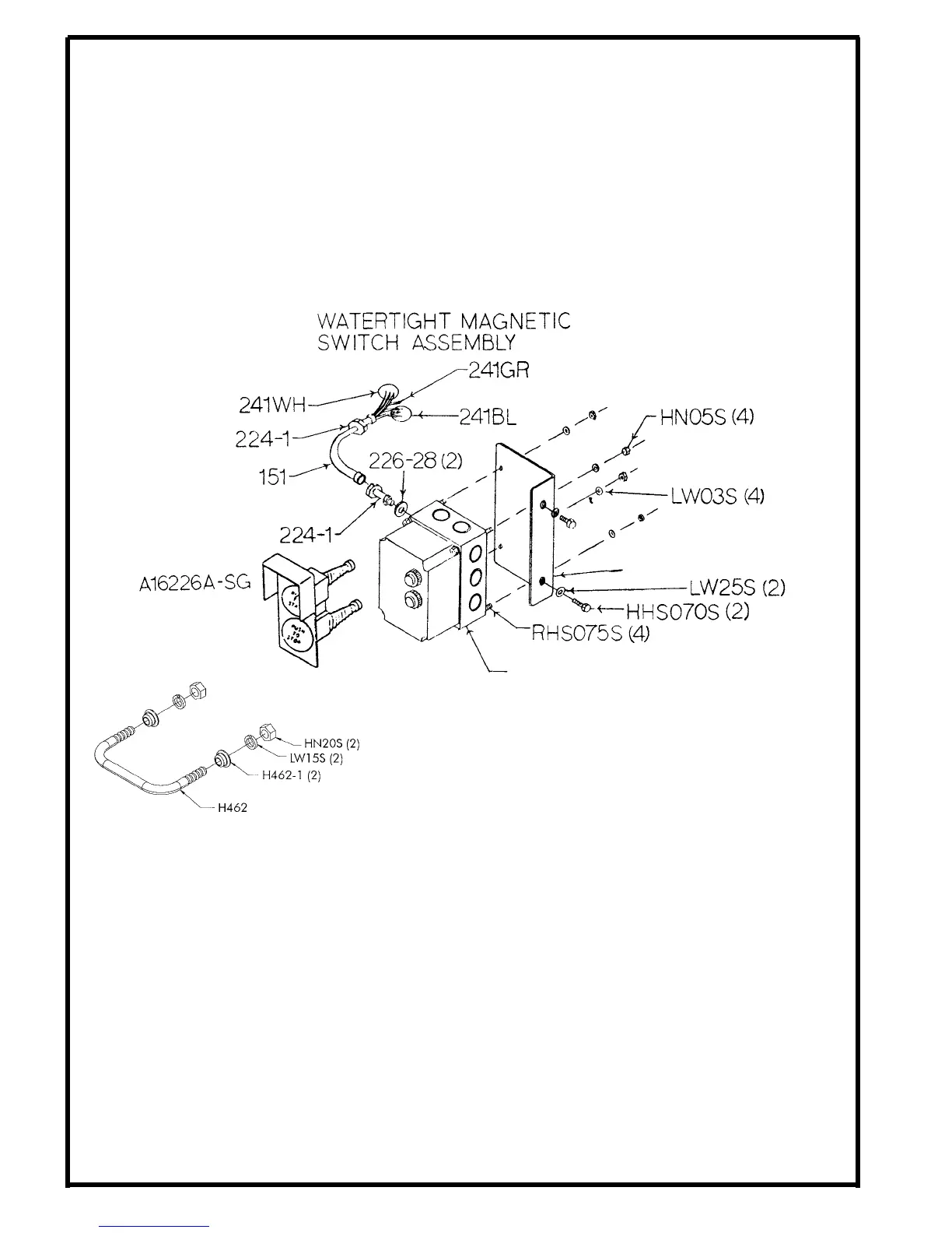
WATERTIGHT MAGNETIC SWITCH ASSEMBLIES
(AEG)
INCLUDES MOUNTING BRACKET AND WIRES
22
Item No. Description
A16226A-SG Green/red switch button assembly
H462A Guard assembly for switch
HHS070S Hex head screw,
3
8
-16
´
1SS
HN05S Hex nut, 8-32 SS
LW03S Lock washer, #8 SS
LW25S Lock washer,
3
8
heavy SS
RHS075S Round head screw, 8-32
´
3
4
SS
16296-2 Switch bracket SS
151 Watertight conduit
224-1 Conduit connector, WT, 180°
226AE-ENCL-PB Enclosure with button holes
226AE-0L02H Overload, B27T-H (1.8-2.8)
226AE-0L04I Overload, B27T-I (2.8-4)
226AE-0L06K Overload, B27T-K (4-6)
226AE-0L08L Overload, B27T-L (5.6-8)
226AE-0L12M Overload, B27T-M (8-12)
226AE-0L17N Overload, B27T-N (11-17)
226AE-0L23O Overload, B27T-O (15-23)
226AE-0L32P Overload, B27T-P (22-32)
226AE-A0 Contactor, SP17.10-A0, 110V
226AE-C0 Contactor, SP17.10-C0, 208/220/230V
226AE-D0 Contactor, SP17.10-D0, 380/415V
226AE-E0 Contactor, SP17.10-E0, 440V
Item No. Description
226AE-F0 Contactor, SP17.10-F0, 550V
226AE-506 BAEG/PC-PB/C6
226AE-514 BAEG/PC-PB/C8
226AE-516 BAEG/PC-PB/E4
226AE-518 BAEG/PC-PB/D6
226AE-520 BAEG/PC-PB/A23
226AE-522 BAEG/PC-PB/C12
226AE-524 BAEG/PC-PB/A32
226AE-526 BAEG/PC-PB/C17
226AE-530 BAEG/PC-PB/F2.8
226AE-534 BAEG/PC-PB/E6
226AE-536 BAEG/PC-PB/D8
226AE-538 BAEG/PC-PB/F4
226AE-540 BAEG/PC-PB/C23
226AE-544 BAEG/PC-PB/E12
226AE-546 BAEG/PC-PB/D12
226AE-548 BAEG/PC-PB/F8
226-28 Washer, 1
1
2
´
27
32
SS
241BL Wire, black, 12 GA., CSA & UL
241GR Wire, green, 12 GA ., CSA & UL
241RD Wire, red, 12 GA., CSA & UL
241WH Wire, white, 12 GA., CSA & UL
Item No. Description Application
A22618AE-522 BAEG/PC-PB/C12 3HP, 208/220/230-50/60-3
A22618AE-534 BAEG/PC-PB/E6 3HP, 440/460-60-3
A22618AE-536 BAEG/PC-PB/D8 3HP, 380/415-50-3
A22618AE-538 BAEG/PC-PB/F4 3HP, 550/575-60-3
A22618AE-540 BAEG/PC-PB/C23 5HP, 208/220/230-50/60-3
A22618AE-544 BAEG/PC-PB/E12 5HP, 440/460-60-3
A22618AE-546 BAEG/PC-PB/D12 5HP, 380/415-50-3
A22618AE-548 BAEG/PC-PB/F8 5HP, 550/575-60-3
Item No.
A22618EE-522
A22618EE-534
A22618EE-536
A22618EE-538
A22618EE-540
A22618EE-544
A22618EE-546
A22618EE-548
Description
BAEG/PC-PB/C14
BAEG/MS-PB/05-E6.3
BAEG/MS-PB/05-D8
BAEG/MS-PB/05-F4.7
BAEG/MS-PB/C18
BAEG/MS-PB/05-E8
BAEG/MS-PB/05-D14
BAEG/MS-PB/05-F8
Application
3HP, 208-220-50/60-3
3HP, 440/460-60-3
3HP, 380/415-50-3
3HP, 550/575-60-3
5HP, 208/230-50/60-3
5HP, 440/460-60-3
5HP, 380/415-50-3
5HP, 550/575-60-3
16296-3
226EE (SPECIFY
ELECTRICAL SPECS)
Item No.
A16226A-SG
H462A
HHS070S
HN05S
LW03S
LW25S
RHS075S
16296-3
151
224-1
226EE-522
226EE-522K
226EE-534
226EE-534K
226EE-536
226EE-536K
226EE-538
226EE-538K
226EE-539
226EE-540
226EE-540K
226EE-544
226EE-544K
Description
GREEN/RED SWITCH BUTTON ASSEMBLY
GUARD ASSEMBLY FOR SWITCH
HEX HEAD SCREW, 3/8 -16 x 1 SS
HEX NUT, 8-32 SS
LOCK WASHER, #8 SS
LOCK WASHER, 3/8 HEAVY SS
ROUND HEAD SCREW, 8-32 x 3/4 SS
SWITCH BRACKET SS, AEG/VYNCKIER ENCLOSURE
WATERTIGHT CONDUIT
CONDUIT CONNECTOR, WT 180º
BAEG/MS-PB/05-C14 3HP 230-50/60-3
CONTACTOR, OVERLOAD, SUBPLATE REPLCMNT 220V, 3PH, 3HP
BAEG/MS-PB/05-E6.3 3HP, 440-60-3
CONTACTOR, OVERLOAD, SUBPLATE REPLCMNT 440V, 3PH, 3HP
BAEG/MS-PB/05-D8 3HP, 380-50-3
CONTACTOR, OVERLOAD, SUBPLATE REPLCMNT 380V, 3PH, 3HP
BAEG/PC-PB/05-F4.7 3HP, 550-60-3
CONTACTOR, OVERLOAD, SUBPLATE REPLCMNT 550V, 3PH, 3HP
BAEG/PC-PB/05-A4.7 3HP, 550-110-60-3
BAEG/MS-PB/C18 5HP 220-60-3
CONTACTOR, OVERLOAD, SUBPLATE REPLCMNT 220V, 3PH, 5HP
BAEG/MS-PB/05-E8 5HP 440-60-3
CONTACTOR, OVERLOAD, SUBPLATE REPLCMNT 440V, 3PH, 5HP
Item No.
226EE-546
226EE-546K
226EE-548
226EE-548K
226EE-CO
226EE-CO11K
226EE-DO
226EE-ENCL-PB30
226EE-EO
226EE-EO11K
226EE-FO
226EE-FO11K
226EE-OL06.3K
226EE-OL08.5L
226EE-OL08L
226EE-OL12M
226EE-OL14NN
226EE-OL18O
226EE-OL4I
H28IEE-51
226-28
241BL
241GR
241RD
241WH
Description
BAEG/MS-PB/D14 5HP 380/415-50-3
CONTACTOR, OVERLOAD, SUBPLATE REPLCMNT 380V, 3PH, 5HP
BAEG/MS-PB/05-F8 5HP, 550-60-3
CONTACTOR, OVERLOAD, SUBPLATE REPLCMNT 550V, 3PH, 5HP
CONTACTOR, LS05.10-CO, 208-230V
CONTACTOR, LS11K.11S-CO, 208-230V
CONTACTOR, LS05.10-DO, 380-415V
ENCLOSURE WITH PUSHBUTTON 30MM HOLES
CONTACTOR, LS05.10-EO 440-480V
CONTACTOR, LS11K.11S-EO 480V, 60HZ-380V, 50HZ
CONTACTOR, LS05.10-FO, 550V
CONTACTOR, LS11K.11S-FO, 575V
OVERLOAD B05-K, 4-6.3A
OVERLOAD B18K-L, 5.5-8.5A
OVERLOAD B05-L, 5.5-8A
OVERLOAD B18K-M, 8-12A
OVERLOAD B05-NN, 10-14A
OVERLOAD B18K-O, 14.5-18A
OVERLOAD B18K-I, 2.5-4A
OVERLOAD B18K, 4-6.3A
WASHER, 1 1/2 x 27/32 SS
WIRE, BLACK 12 GA., CSA & UL
WIRE, GREEN, 12GA., CSA & UL
WIRE, RED, 12 GA., CSA & UL
WIRE, WHITE 12 GA., CSA & UL
H462A
24

Related product manuals