EasyManua.ls Logo

Black & Decker BDH2000FL - Charging the Battery

Black & Decker BDH2000FL
28 pages
Print Icon
To Next Page IconTo Next Page
To Next Page IconTo Next Page
To Previous Page IconTo Previous Page
To Previous Page IconTo Previous Page
Loading...
5
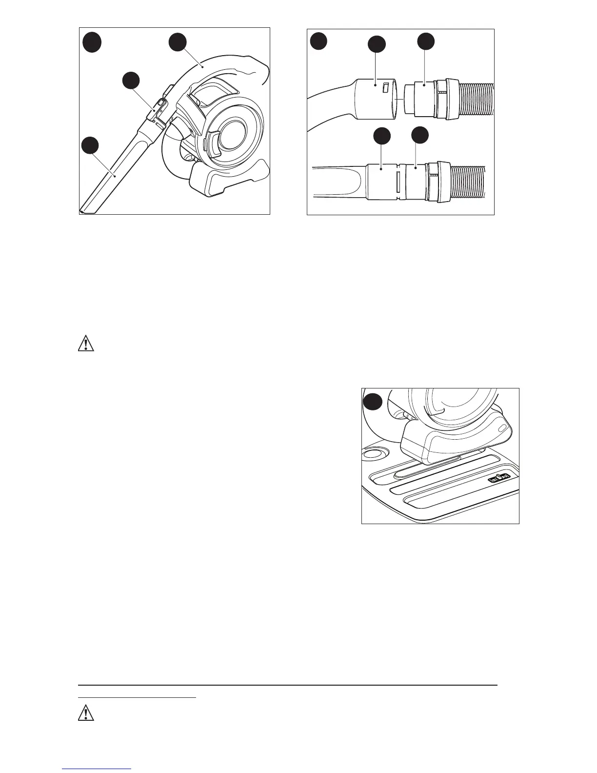
To remove the handle:
•Unclipthehandle(2)fromtheappliance.
•Rotate the locking ring (3) counterclockwise to release the clips.
•Pullthehoseawayfromthehandle(2).
•Fittheaccessorydirectlytothehosecuff(16).
To refit the handle:
•Removetheaccessoryfromthehose.
•Push the hose into the handle (2). Rotate locking ring (3) clockwise until it clicks into place.
CHARGING THE BATTERY (figure C)
WARNING: Charge only at ambient temperatures between 39°F (4°C) and
104°F (40°C). The charger supplied with this product is intended to be plugged in such that it is
correctly oriented in a vertical or floor mount position.
NOTE: Before first use, the batteries must be
charged until LED illuminates continuously.
•Connect the appliance to the charger base (7).
•
Charge the batteries as described in “Charging the battery” section
.
You may need to charge/discharge the appliance a minimum of
5 times in order to achieve the best running time performance.
To charge the appliance:
•Makesurethattheapplianceisswitchedoff.The
battery will not be charged with the on/off power switch
(1) in the on position.
•Place the appliance on the charging base (13)
•Pluginthechargerintoastandard120Volt60Hzelectricaloutlet.
•Thechargingindicator(7)willflashcontinuously(slowly)
•Leavetheappliancetocharge.Aproximatechargetimeis4hours.
While charging, the charger may become warm. This is normal and does not indicate a problem.
The appliance can be left connected to the charger indefinitely. The charge is complete when
the charging indicator (7) lights continuously. The charger and the battery can be left connected
indefinitely with the LED illuminated. The LED will change to flashing (charging) state
as the charger occasionally tops off the battery charge.
•Chargedischargedbatterieswithin1week.Batterylifewillbegreatlydiminishedif
stored in a discharged state.
Note: The charger will not charge a battery if the cell temperature is below approximately 32°F
(0°C) or above 104°F (40°C). The battery should be left in the charger and the charger will begin
to charge automatically when the cell temperature warms up or cools down.
Recharge discharged batteries as soon as possible after use or battery life may
be greatly diminished.
WARNING: Do not use tool while it is connected to the charger.
C
A
2
9
10
B
2
16
16
10

Related product manuals