EasyManua.ls Logo

Black Box USBC2000 - 4 Connection Diagram

Black Box USBC2000
12 pages
Print Icon
To Next Page IconTo Next Page
To Next Page IconTo Next Page
To Previous Page IconTo Previous Page
To Previous Page IconTo Previous Page
Loading...
9
1. 8 7 7. 8 7 7. 2 2 6 9 BLACKBOX.COM
NEED HELP?
LE AVE THE TECH TO US
LIVE 24/7
TECHNICAL
SUPPORT
1.8 7 7. 8 7 7. 2 2 6 9
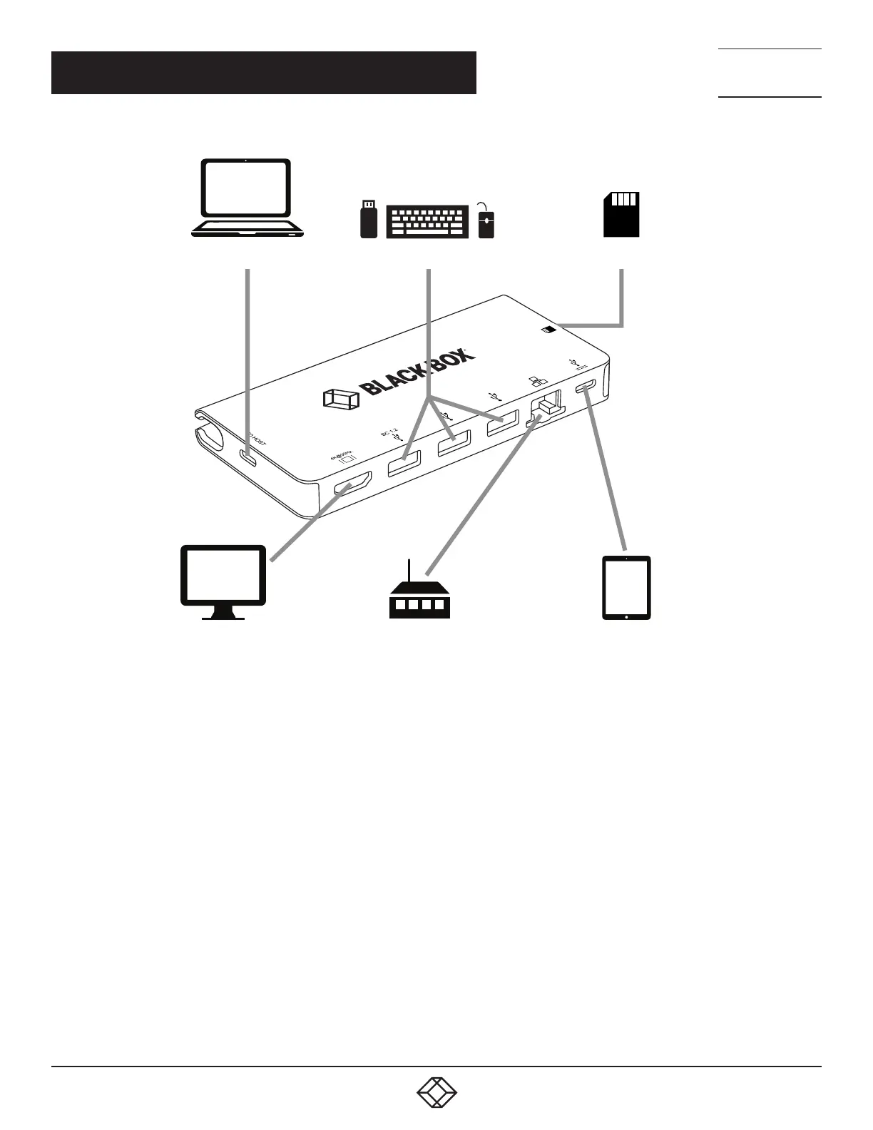
CHAPTER 4: CONNECTION DIAGRAM
SD or Micro SD Card
Ethernet Switch
USB Devices
HDMI Display
4K@30Hz
Type-C Host PC
Type-C Device or
Type-C PD Adapter
FIGURE 4-1. CONNECTION DIAGRAM