EasyManua.ls Logo

Blitz HydroLift Series - Page 125

Default Icon
Print Icon
To Next Page IconTo Next Page
To Next Page IconTo Next Page
To Previous Page IconTo Previous Page
To Previous Page IconTo Previous Page
Loading...
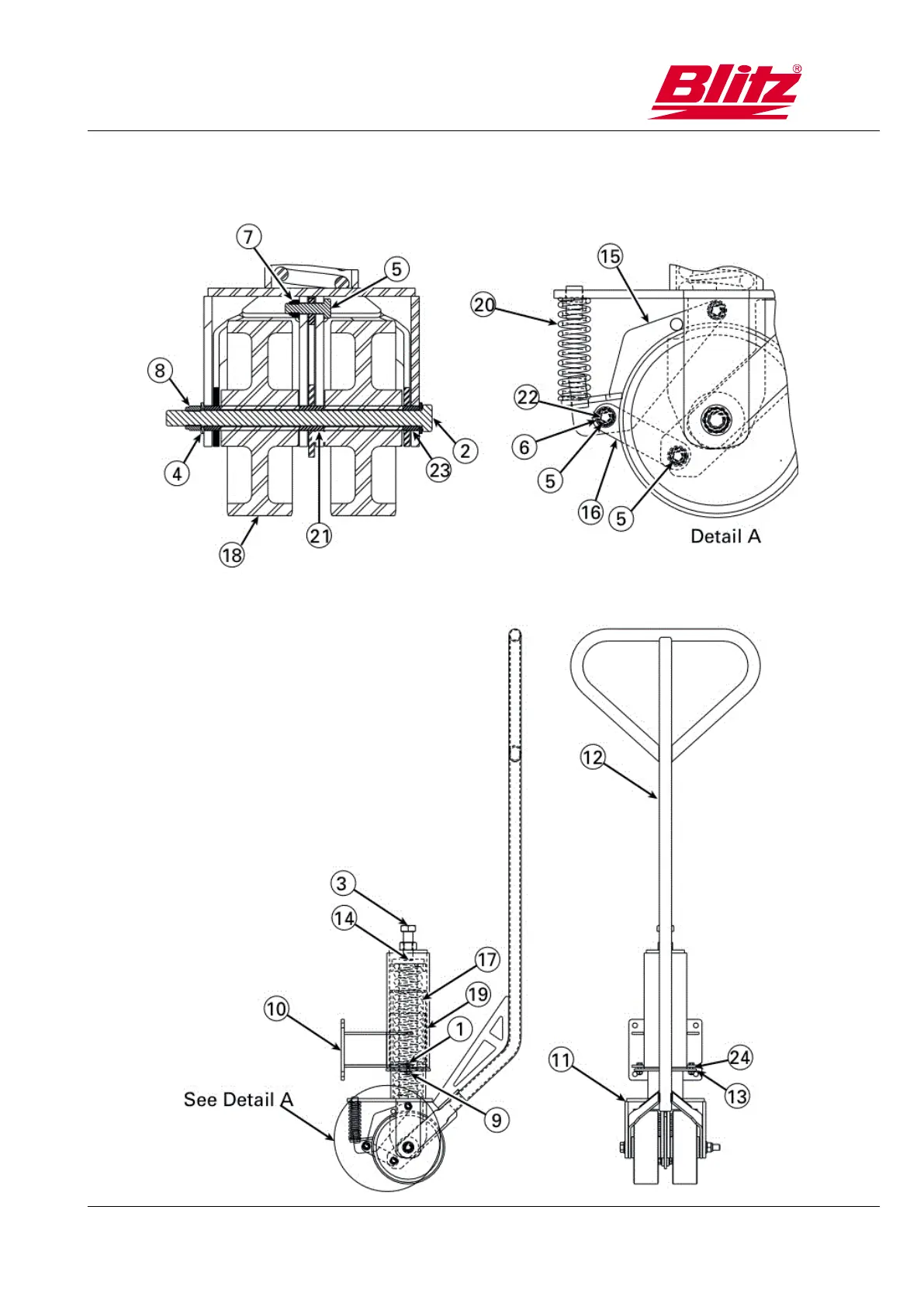
HydroLift
Technical Annex
Drawbar HydroLift S3 6.2 t / 7.5 t and S2 8.2 t

Related product manuals