EasyManua.ls Logo

Blomberg BRFB1052FFBI2 - 5 Utilisation de Votre Réfrigérateur

Blomberg BRFB1052FFBI2
85 pages
Print Icon
To Next Page IconTo Next Page
To Next Page IconTo Next Page
To Previous Page IconTo Previous Page
To Previous Page IconTo Previous Page
Loading...
FR
18
5 Utilisation de votre réfrigérateur
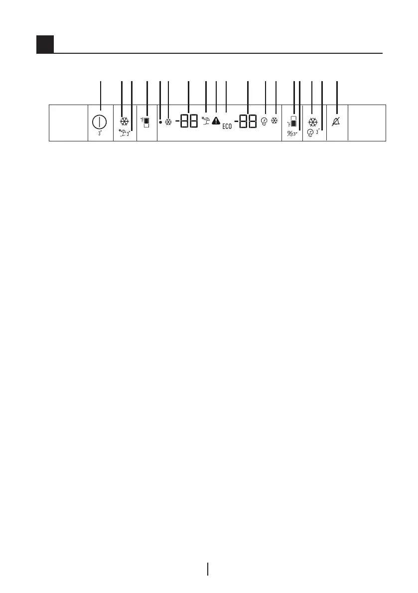
1 2 3 4 5 6 7 8 9 10
11 12 13 14
15 16
1817
1- Fonction Marche/Arrêt
Appuyez sur la touche On/Off pendant
3 secondes pour allumer ou éteindre le
réfrigérateur.
2- Fonction de réfrigération rapide
Lorsque vous appuyez sur le bouton
Réfrigération rapide, la température du
compartiment sera plus froide que les
valeurs de réglage.
Cette fonction peut être utilisée
pour les denrées placées dans le
compartiment de réfrigération que l’on
souhaite refroidir rapidement.
Si vous souhaitez introduire de
grandes quantités de produits
frais dans le réfrigérateur, nous
vous recommandons d'activer au
préalable cette option. L'indicateur
de réfrigération rapide restera allumé
pendant que sa fonction est activée.
Pour annuler cette fonction, appuyez
à nouveau sur le bouton Réfrigération
rapide. L'indicateur de réfrigération
rapide s’éteindra et retournera à son
réglage normal.
Après 2 heures de temps, ou lorsque
le compartiment réfrigérateur atteint la
température souhaitée, cet indicateur
s’annulera automatiquement si vous ne
le faites pas. Cette fonction n'est pas
reprise lorsque le courant est rétabli
après une panne de courant.
3- Fonction Vacances
Appuyez le bouton réfrigération
rapide/vacances pendant 3 secondes
pour activer la fonction vacances.
L'icône "--" s'affiche lorsque cette
fonction est active. Pour désactiver
cette fonction, appuyez sur le même
bouton pendant 3 secondes ou sur le
bouton de réglage du réfrigérateur.
4- Fonction de réglage du
réfrigérateur
Cette fonction vous donne la
possibilité de régler la température du
compartiment réfrigérateur. Appuyez
sur ce bouton pour régler la température
du compartiment réfrigérateur à 38, 37,
36, 35, 34, 33, 46, 45, 44, 43, 42, 41,
40, 39 °F respectivement.
C Les illustrations présenes dans cette notice d’utilisation sont scmatiques
et peuvent ne pas correspondre exactement à votre produit. Si des pièces
présenes ne sont pas comprises dans le produit que vous avez acheté, elles
sont valables pour d’autres modèles.

Table of Contents

Related product manuals