EasyManua.ls Logo

Blomberg FNT4550 - 5 Using Your Freezer

Blomberg FNT4550
22 pages
Print Icon
To Next Page IconTo Next Page
To Next Page IconTo Next Page
To Previous Page IconTo Previous Page
To Previous Page IconTo Previous Page
Loading...
EN
16
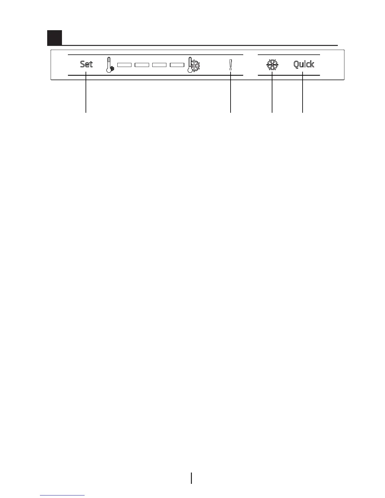
1.Freezer Set Function
This function allows you to make
the freezer compartment temperature
setting.
Press this button to set the
temperature of the freezer compartment
to - (warmest), --, ---, ----, ----- (coldest)
respectively.
2.High Temperature Error /
Warning Indicator
This light comes on during high
temperature failures and error warnings.
3- Quick Frezee Indicator
This icon lits when the Quick Freeze
function is active.
4-Quick Frezee Function
When you press Quick Freeze button,
the temperature of the compartment
will be colder than the adjusted values.
This function can be used for food
placed in the freezer compartment and
required to be cooled down rapidly.
If you want to cool large amounts of
fresh food, it is recommended to active
this feature before putting the food into
the freezer.
C Figures that take place in this instruction manual are schematic and may not
correspond exactly with your product. If the subject parts are not included in the
product you have purchased, then it is valid for other models.
Quick Freezer indicator will remain
lit when the Quick Freezer function is
enabled. To cancel this
function press Quick Freezer button
again. Quick Freezer indicator will turn
off and return to its normal settings.
If you do not cancel it, Quick Fridge
will cancel itself automatically after 2
hours or when the freezer compartment
reaches to the required temperature.
This function is not recalled when
power restores after a power failure.
5 Using your freezer
1 2 3 4

Related product manuals