EasyManua.ls Logo

Blue Summit BLUERIDGE BE5C - Page 21

Blue Summit BLUERIDGE BE5C
22 pages
Print Icon
To Next Page IconTo Next Page
To Next Page IconTo Next Page
To Previous Page IconTo Previous Page
To Previous Page IconTo Previous Page
Loading...
507787B02 Issue 2336 Page 21 of 22
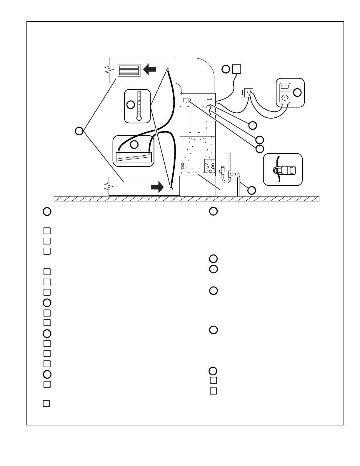
1
Duct
System
Filter
Integrated Control
Electric Heat Amps
Duct Static
5
Line Voltage
3
RETURN
AIR
SUPPLY
AIR
Temperature
8
Blower Motor Amps
6
7
Thermostat
9
2
4
Drain Line
Disconnect
Switch
ELECTRIC HEAT AMPS____________
8
8
7
5
DUCT SYSTEM
SUPPLY AIR DUCT
Sealed
Insulated (if necessary)
Registers Open and Unobstructed
RETURN AIR DUCT
Sealed
Filter Installed and Clean
Registers Open and Unobstructed
INTEGRATED CONTROL
Jumpers Configured Correctly (if applicable)
Appropriate Links in Place (if applicable)
VOLTAGE CHECK
Supply Voltage ___________
Electrial Connections Tight
1
2
3
DRAIN LINE
Leak Free
4
TOTAL EXTERNAL STATIC (dry coil)
Supply External Static ______ ______
TEMPERATURE DROP (Cooling Mode)
Return Duct Temperature ___________
THERMOSTAT
Adjusted and Programmed
Return External Static ______ ______
Total External Static = ______ ______
6
Supply Duct Temperature − ___________
Temperature Drop = ___________
TEMPERATURE RISE (Heating Mode)
Return Duct Temperature __________
Supply Duct Temperature − __________
Temperature Rise = __________
Operation Explained to Owner
9
Explained Operation of System to Homeowner
Technician’s Name:_______________________Date Start−Up & Performance Check Completed__________
Installing Contractor’s Name_______________________
Installing Contractor’s Phone_______________________
Job Address____________________________________
Installing Date_______________________________
Air Handler Model #__________________________
_
INDOOR BLOWER AMPS___________
INDOOR BLOWER CFM____________
Low Voltage _____________
dry coil wet coil
Figure 21. Start-Up and Performance Checklist (Upow Conguration)