EasyManua.ls Logo

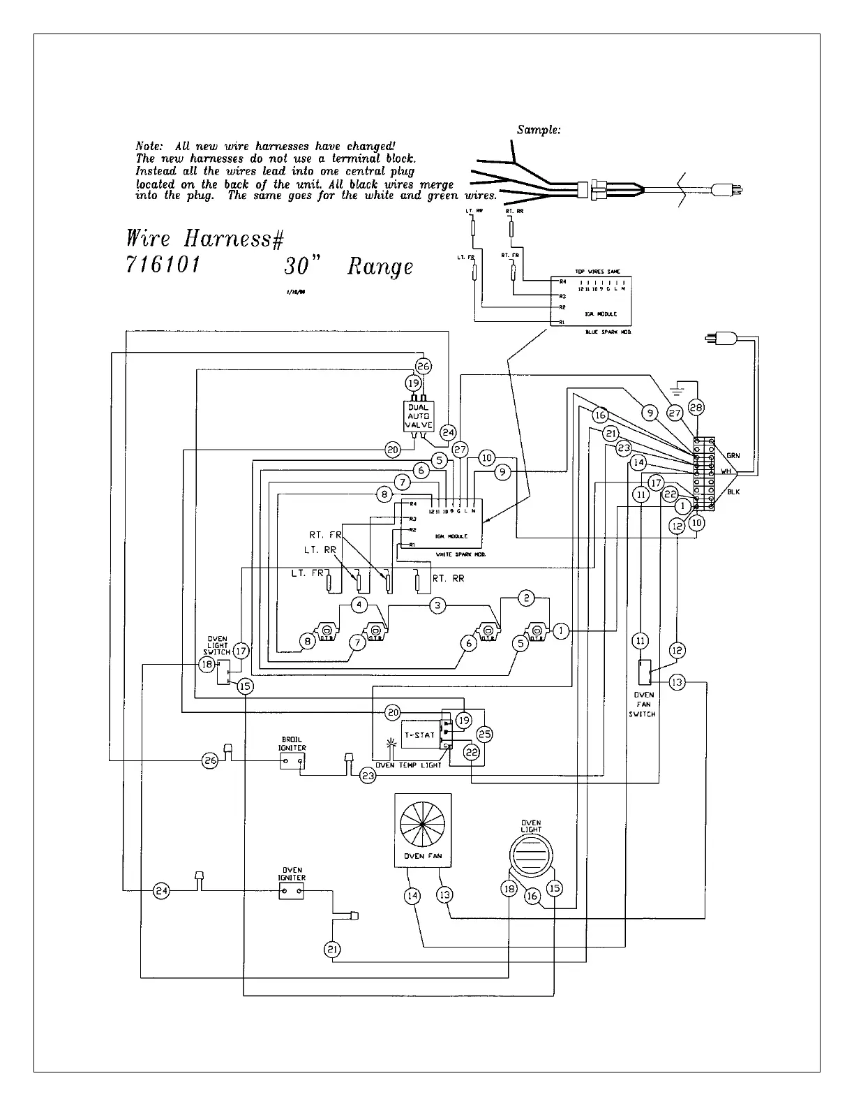
BlueStar RCS-30 - Wiring Diagrams and Performance Checklist; Range Wiring Diagrams

BlueStar RCS-30
47 pages
Print Icon
To Next Page IconTo Next Page
To Next Page IconTo Next Page
To Previous Page IconTo Previous Page
To Previous Page IconTo Previous Page
Loading...
- 39 -

Related product manuals