EasyManua.ls Logo

Body Solid G2B - Hardware Parts List; Hardware Diagrams

Body Solid G2B
86 pages
Print Icon
To Next Page IconTo Next Page
To Next Page IconTo Next Page
To Previous Page IconTo Previous Page
To Previous Page IconTo Previous Page
Loading...
82
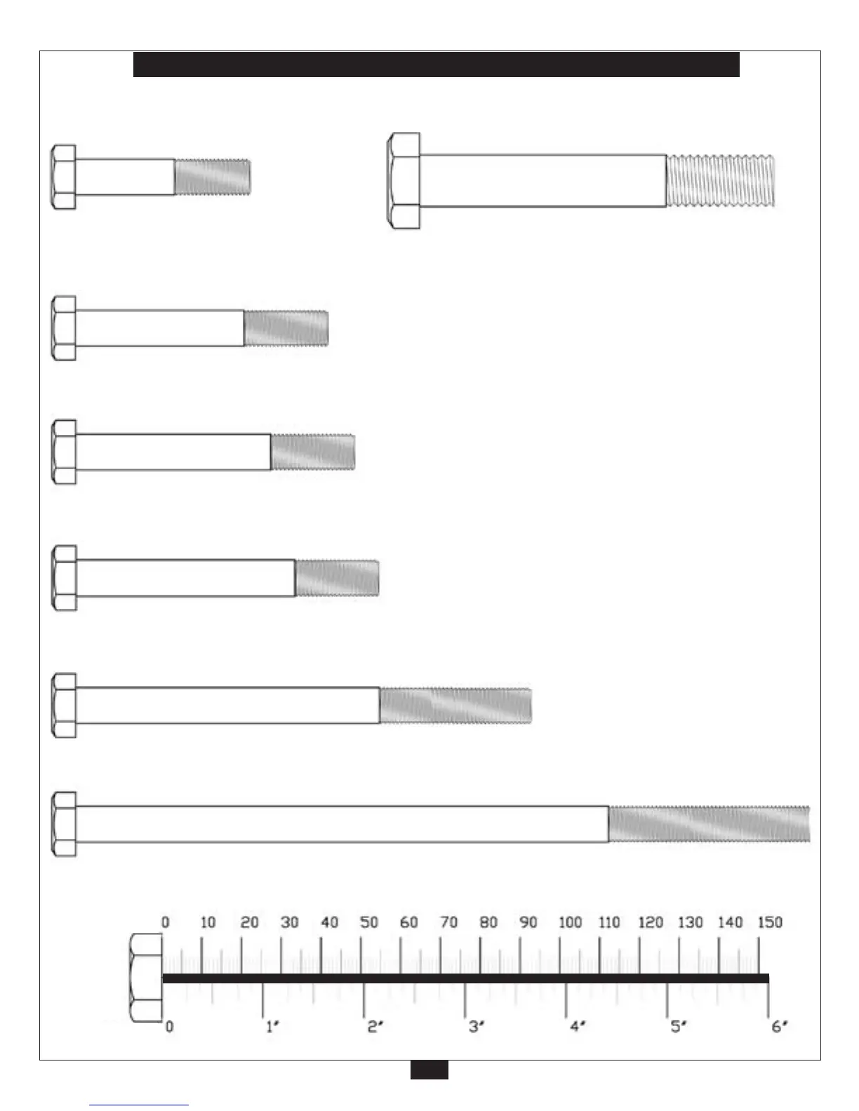
(shown in actual size)
G2B HARDWARE
mm
Inch
KEY #50 HEX HEAD BOLT 1/2” X 3 1/2”
PARTIAL THREAD QTY. 2
KEY #51 HEX HEAD BOLT
3/8” X 1 3/4”
PARTIAL THREAD QTY. 10
KEY #53 HEX HEAD BOLT 3/8” X 2 1/2” PARTIAL THREAD QTY. 6
KEY #54 HEX HEAD BOLT 3/8” X 2 3/4” PARTIAL THREAD QTY. 7
KEY #55 HEX HEAD BOLT 3/8” X 3” PARTIAL THREAD QTY. 16
KEY #56 HEX HEAD BOLT 3/8” X 4 1/2” PARTIAL THREAD QTY. 1
KEY #57 HEX HEAD BOLT 3/8” X 7 1/4” PARTIAL THREAD QTY. 2

Related product manuals