EasyManua.ls Logo

BODYMAX CF485+ - Page 9

BODYMAX CF485+
9 pages
Print Icon
To Previous Page IconTo Previous Page
To Previous Page IconTo Previous Page
Loading...
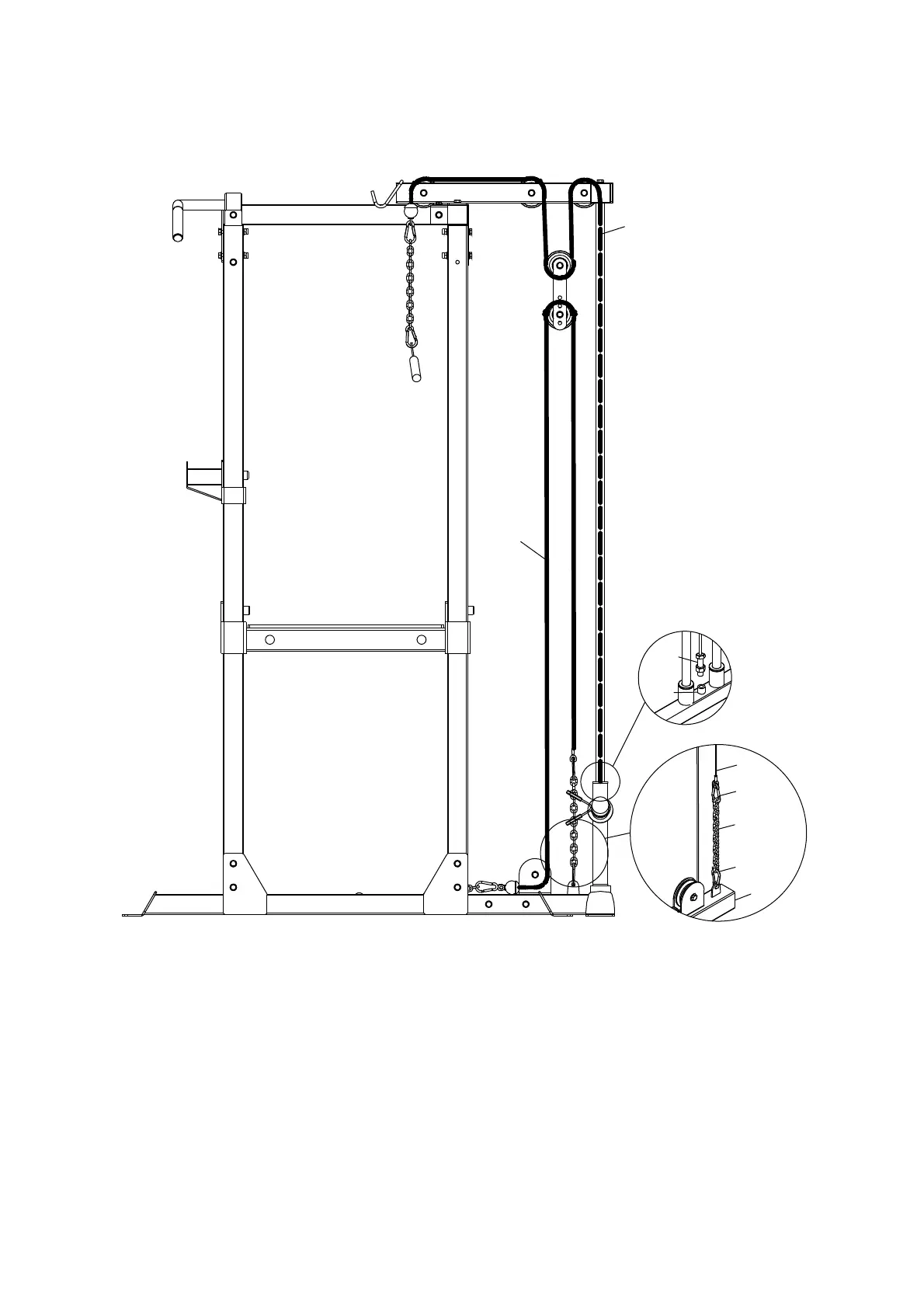
STEP 04
22
13
14
13
2
e
21
4
ab
c
d
f
g
h
21
22
1. Take the Cable A-3000 (21) to go through a-b-c-d-e, and tight the screw end of the cable to the Sliding
Weight Post (4)
2. Take the Cable B-3250 (22) to go through f-g-h and attach the eyelet end of the cable to the Weight Base
Tube (2) with two Hooks (13) and Chain (14)

Related product manuals