EasyManua.ls Logo

Boeing 747 - Page 40

Boeing 747
96 pages
Print Icon
To Next Page IconTo Next Page
To Next Page IconTo Next Page
To Previous Page IconTo Previous Page
To Previous Page IconTo Previous Page
Loading...
5
5
3
2
1
4
4
3
4
2
1
B
B
AA
60%
40%
20%
100%
10
0
8
6
2
80%
4
(40%) (80%)
D C B
NOTES:
_____
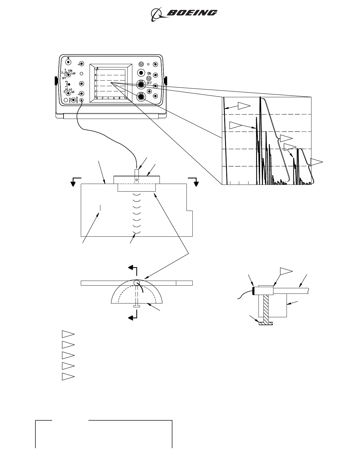
TRANSDUCER
STANDARD
REFERENCE
GUIDE
TRANSDUCER
B-B
SET
SCREW
TRANSDUCER
A-A
GUIDE
TRANSDUCER
GUIDE
TRANSDUCER
POSITION
A
SOUND WAVES
EDM
NOTCH
(NOT
TO
SCALE)
REFERENCE
STANDARD
NDT4107
(50 MM) AND 4.0
INCHES
(101
MM)
OF
SOUND
OF
THE
TRANSDUCER
GUIDE
INITIAL
PULSE
SIGNAL
FIRST
BACK
SURFACE
SIGNAL
-
SET
AT
40%
FULL
SCREEN
WIDTH
SECOND
BACK
SURFACE
SIGNAL
-
SET
AT
80%
FULL
SCREEN
WIDTH
MODE
CONVERSION
SIGNALS
-
IGNORE
THESE
SIGNALS
PUT THE
BOTTOM
OF
THE
TRANSDUCER
EQUAL
WITH
THE
BOTTOM
TRAVEL
THROUGH
THE
REFERENCE STANDARD.
POSITION
"A"
ON
REFERENCE
STANDARD
SIGNALS
WHEN
THE
TRANSDUCER
IS AT
THE
FIRST
AND
SECOND
BACK
SURFACE
NDT4107.
THESE
SIGNALS
SHOW
2.0
INCHES
2130642 S0000459164_V1
Screen Calibration for Reference Standard NDT4107
Figure 5
747
NONDESTRUCTIVE TEST MANUAL
PART 4 54-30-06
Page 10
Nov 15/2015D6-7170
ECCN 9E991 BOEING PROPRIETARY - Copyright © Unpublished Work - See title page for details
EFFECTIVITY
ALL

Other manuals for Boeing 747

Related product manuals