EasyManua.ls Logo

Boeing 747 - Page 66

Boeing 747
96 pages
Print Icon
To Next Page IconTo Next Page
To Next Page IconTo Next Page
To Previous Page IconTo Previous Page
To Previous Page IconTo Previous Page
Loading...
10
0
8
6
2
4
6
0
%
4
0
%
2
0
%
8
0
%
100%
NDT4109
ON
OFF
10P
10N
0
0
20 40
60
E
D
U
A
+5
+1
2.25
5
1
OFF
P
/
4 6 8
10
20
0
2
4
6
8
10
%
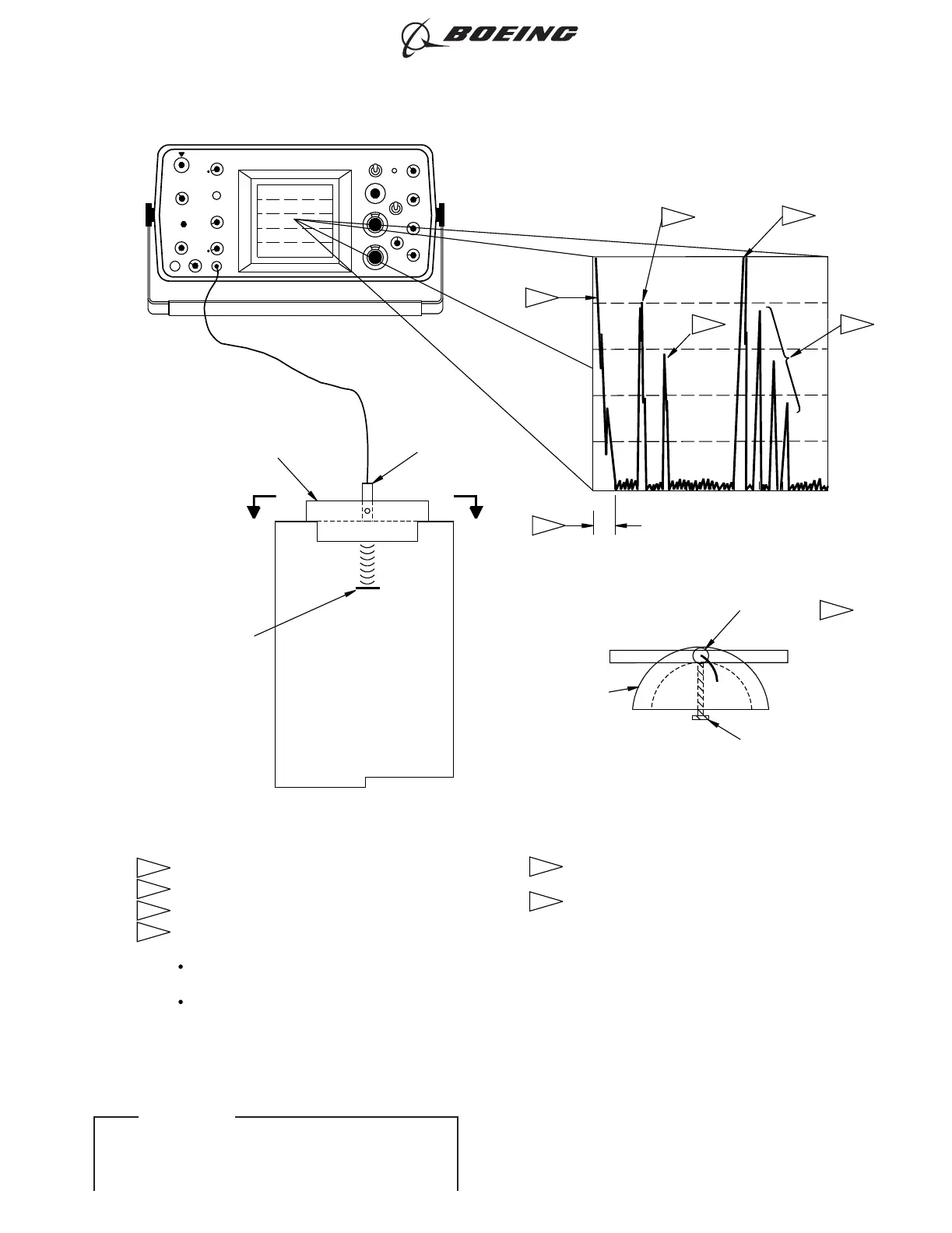
NOTCH
AND
ADJUST
THE
SETSCREW
SO IT IS
TIGHT
TO
GET
A
MAXIMUM
SIGNAL
FROM
THE
REFERENCE
TURN
THE
TRANSDUCER
IN
THE
TRANSDUCER
GUIDE
5
6
THAN
10%
FULL
SCREEN
WIDTH
INITIAL
PULSE
SIGNAL
MUST
NOT
BE
LARGER
1
INITIAL
PULSE
SIGNAL
4
3
2
IS AT
POSITION
"D"
MUST
BE AT
POSITION
95% FSW
THE
BACK
SURFACE
SIGNAL
WHEN
THE
TRANSDUCER
THE
BACK
SURFACE
SIGNAL
WHEN
THE
TRANSDUCER
IS AT
POSITION
"B"
MUST
BE AT
POSITION
87% FSW
ABOVE
THE
NOTCH,
(TRANSDUCER
AT
"C")
FIRST
BACK
SURFACE
SIGNAL
WITH
THE
TRANSDUCER
SIGNALS
FROM MODE
CONVERSION
REFERENCE
NOTCH
SIGNAL,
CLOSE
TO
20% FSW
_____
NOTES:
6
TRANSDUCER
GUIDE
TRANSDUCER
5
EDM
NOTCH
AA
A-A
THE
REFERENCE
STANDARD
NOTCH
TRANSDUCER
GUIDE
POSITION
ABOVE
GUIDE
TRANSDUCER
SETSCREW
TRANSDUCER
INSTRUMENT
SENSITIVITY CALIBRATION
1
4
2
D
B
A
3 3
2131056 S0000459181_V1
Sensitivity Calibration on Reference Standard NDT4109
Figure 5
747
NONDESTRUCTIVE TEST MANUAL
PART 4 54-30-08
Page 10
Nov 15/2015D6-7170
ECCN 9E991 BOEING PROPRIETARY - Copyright © Unpublished Work - See title page for details
EFFECTIVITY
ALL

Other manuals for Boeing 747

Related product manuals