EasyManua.ls Logo

Boeing 747 - Page 65

Boeing 747
96 pages
Print Icon
To Next Page IconTo Next Page
To Next Page IconTo Next Page
To Previous Page IconTo Previous Page
To Previous Page IconTo Previous Page
Loading...
60%
40%
20%
100%
10
0
8
6
2
4
80%
B-B
TRANSDUCER
GUIDE
SET
SCREW
TRANSDUCER
A-A
ON
OFF
10P
10N
0
0
20 40
60
E
D
U
A
+5
+1
2.25
5
1
OFF
P
/
4 6 8
10
20
0
2
4
6
8
10
%
D C B
EDM
NOTCH
POSITION
A
TRANSDUCER
GUIDE
SET
SCREW
TRANSDUCER
(NOT
TO
SCALE)
REFERENCE
STANDARD
TRANSDUCER
GUIDE
REFERENCE
STANDARD
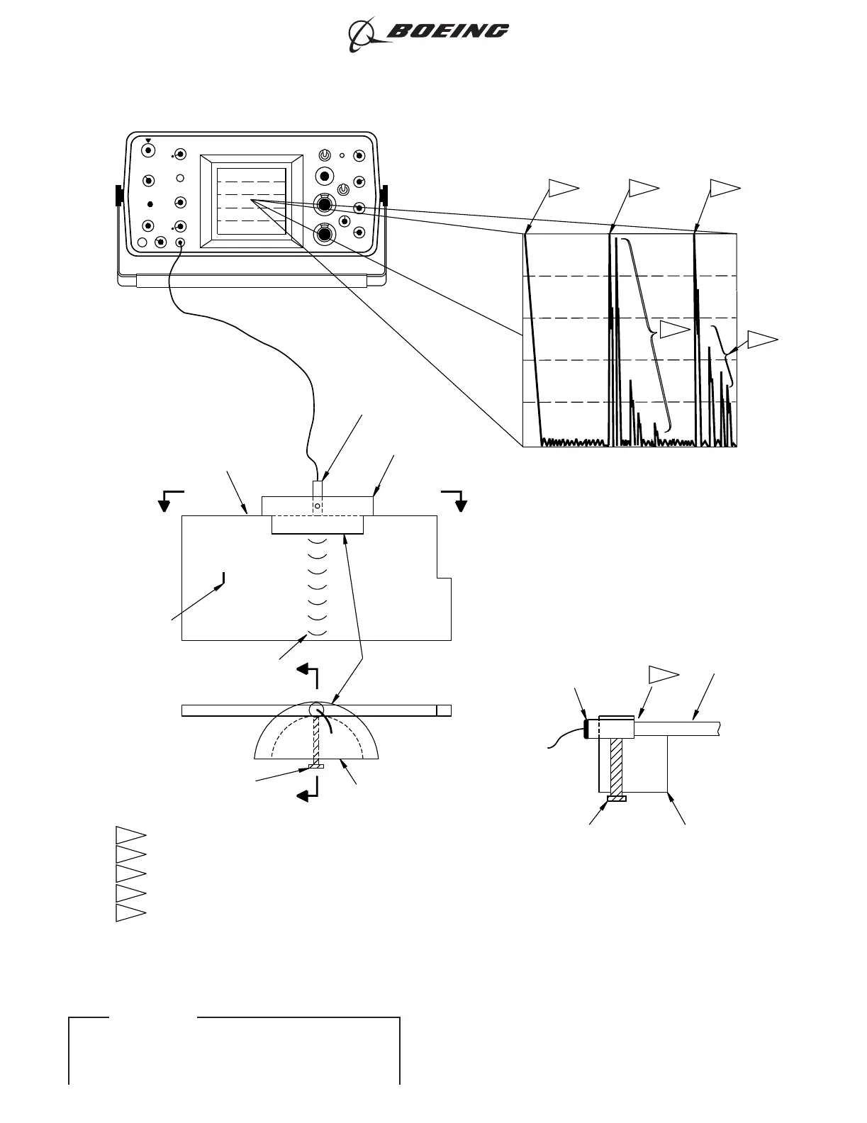
NDT4109
SOUND WAVES
(38 MM) AND
3
INCHES
(76 MM)
OF
SOUND
THE
FIRST
AND
SECOND
BACK
SURFACE
SIGNALS
WHEN
THE
TRANSDUCER
IS AT
POSITION
"A"
ON
REFERENCE
STANDARD
NDT4109.
THESE
SIGNALS
SHOW
1.5
INCHES
TRAVEL
THROUGH
THE
REFERENCE STANDARD.
2 31
4
4
A A
B
B
(80%)(40%)
5
_____
NOTES:
3
2
1
THE
TRANSDUCER
GUIDE
PUT THE
BOTTOM
OF
THE
TRANSDUCER
EQUAL
WITH
THE
BOTTOM
OF
MODE
CONVERSION
SIGNALS
-
IGNORE
THESE
SIGNALS
SECOND
BACK
SURFACE
SIGNAL
-
SET
AT
80%
FULL
SCREEN
WIDTH
FIRST
BACK
SURFACE
SIGNAL
-
SET
AT
40%
FULL
SCREEN
WIDTH
INITIAL
PULSE
SIGNAL
5
4
2131052 S0000459180_V1
Screen Calibration for Reference Standard NDT4109
Figure 4
747
NONDESTRUCTIVE TEST MANUAL
PART 4 54-30-08
Page 9
Nov 15/2015D6-7170
ECCN 9E991 BOEING PROPRIETARY - Copyright © Unpublished Work - See title page for details
EFFECTIVITY
ALL

Other manuals for Boeing 747

Related product manuals