EasyManua.ls Logo

BORNIAK GD-01 - Assembly and Installation

Default Icon
17 pages
Print Icon
To Next Page IconTo Next Page
To Next Page IconTo Next Page
To Previous Page IconTo Previous Page
To Previous Page IconTo Previous Page
Loading...
Page 12
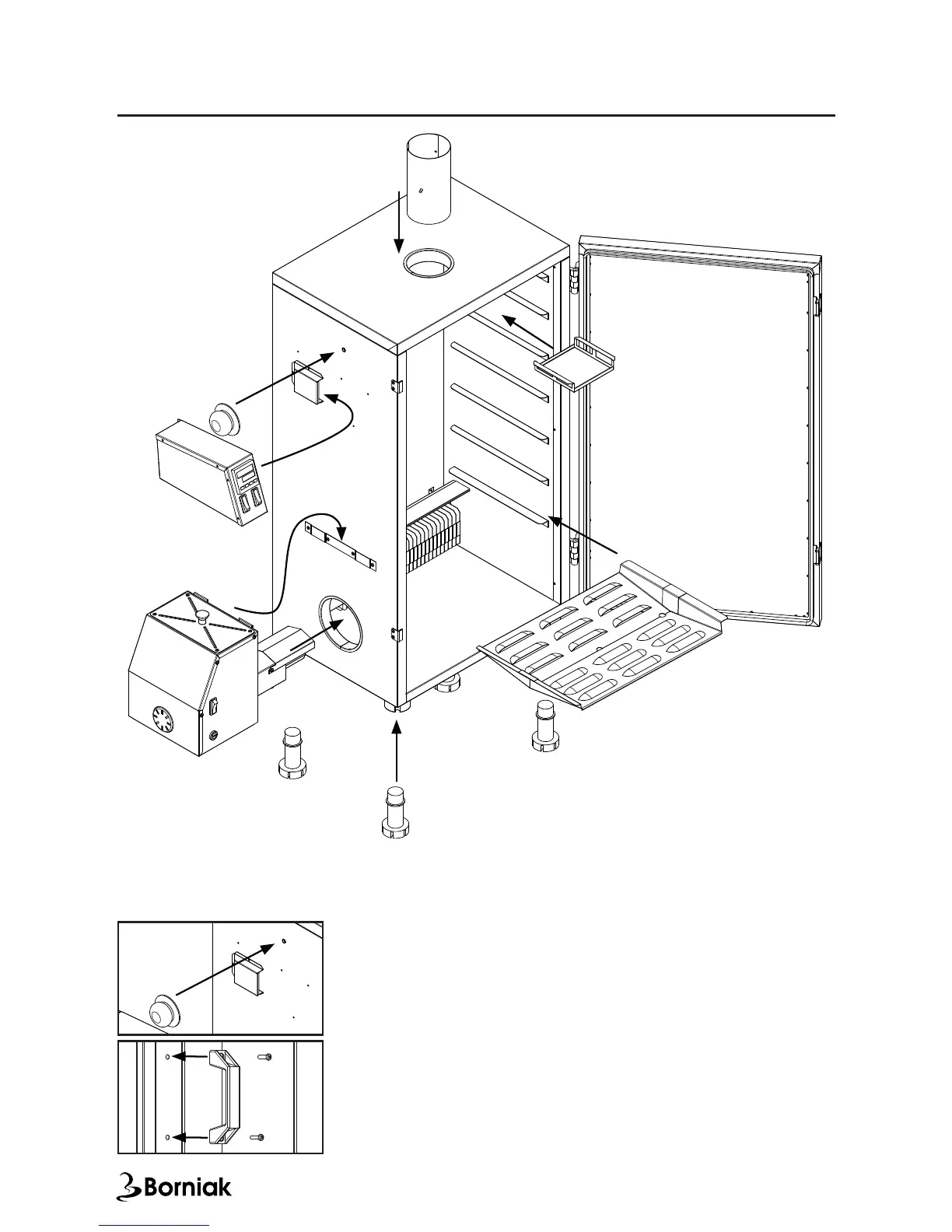
VII. Assembly and installation
1. After taking out of the carton, remove unnecessary packaging
and elements protecting the product and read the instructions.
2. Screw two handles to carry the device.
3. Screw the handle to open the door.
Wsunąć
Wsunąć
Wsunąć

Other manuals for BORNIAK GD-01

Related product manuals