EasyManua.ls Logo

BORNIAK GD-01 - Construction and Description of Operation

Default Icon
17 pages
Print Icon
To Next Page IconTo Next Page
To Next Page IconTo Next Page
To Previous Page IconTo Previous Page
To Previous Page IconTo Previous Page
Loading...
Page 8
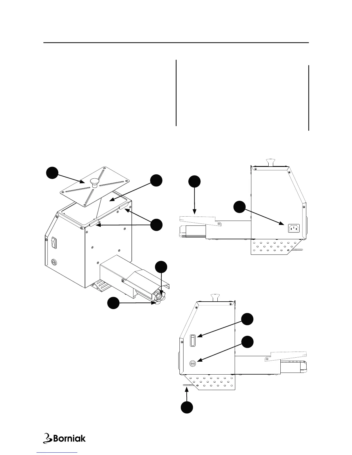
V. Construction and description of the operation
1. Lid
2. Wood chips hopper
3. Feeder and burner ON switch
4. Fuse
5. Power cord
6. Burner (heater)
7. Sawdust feeder
8. Latch
9. Burner cover
10. Air shutter
SMOKE GENERATOR
After switching on the smoke generator, the
feeder (7) starts to rotate, at the same time
the burner (6) begins to heat.
The feeder uniformly transports chips from
the storage tank (2) to the burner, where
they start to smoulder. Smouldering chips
are pushed through the entire length of the
burner (6) where at the end they fall into a
container lled with water.
8
9
7
6
4
1
5
3
LEFT
RIGHT
2
10
Using a smoker does not require
any special skills, and the perfect
smoking effect is achieved with
a minimum of involvement.

Other manuals for BORNIAK GD-01

Related product manuals