EasyManua.ls Logo

Bosch DWK09M760 - Bediening Van de Afzuigkap

Bosch DWK09M760
94 pages
Go to English
To Next Page IconTo Next Page
To Next Page IconTo Next Page
To Previous Page IconTo Previous Page
To Previous Page IconTo Previous Page
Loading...
46
Bediening van de afzuigkap
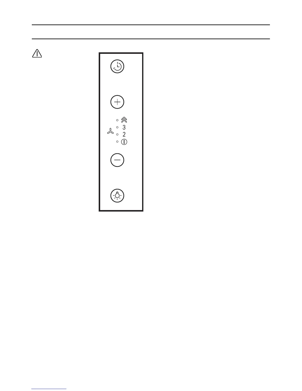
Snelheid 3 Led 3
Intensieve snelheid Led 4 (knipperend
lampje)
Voor de intensieve zuigkracht is er een
timer functie. De standaard tijd is 5
minuten, na afloop ervan schakelt de
afzuigkap over naar snelheid 2.
Om de functie vóór de ingestelde tijd uit
te schakelen druk op de toets T2, de
afzuigkap gaat over op stand 3.
T4.Snelheid Timer
De timer voor de snelheid wordt
geactiveerd door op de toets T4 te
drukken, na afloop van de ingestelde tijd
gaat de afzuigkap uit.
De tijdsinstelling is op de volgende wijze
onderverdeeld:
Snelheid 1 - 20 minuten (knipperend Led
lampje 1)
Snelheid 2 - 15 minuten (knipperend Led
lampje 2)
Snelheid 3 - 10 minuten (knipperend Led
lampje 3)
Snelheid 4 - 5 minuten (knipperend Led
lampje 4)
Tijdens de timer functie, door op de toetst T2
te drukken, verlaat de kap de timer functie
en neemt de snelheid af.
Door op de toets T3 te drukken verlaat de
kap de timer functie en neemt de snelheid
toe.
Door op de toets T4 te drukken verlaat de
kap de timer functie en blijft de kap in
dezelfde snelheid.
De mest
doeltreffende wijze om
kookdampen te
verwijderen is de
volgende:
Zet de kap AAN
zodra u begint te
koken.
Zet de kap UIT
enkele minuten
nadat u klaar bent
met koken:
T1
T2
T3
T4
T1.Lichten ON/OFF
T2.Snelheidsafname
Door op de toets T2 te drukken neemt de
snelheid af, van snelheid 4 (intensieve
zuigkracht) naar snelheid 1.
Door, tijdens de werking op snelheid 1, op
de toets T2 te drukken gaat de afzuigkap
op OFF.
T3.Snelheidstoename
Door op de toets T3 te drukken schakelt
de afzuigkap van de OFF stand over naar
snelheid 1.
Door op de toets te drukken (afzuigkap
ON) neemt de snelheid van de motor toe:
van snelheid 1 naar snelheid 4
(intensieve zuigkracht).
Bij iedere snelheid gaat het betreffende
Led lampje aan.
Snelheid 1 Led 1
Snelheid 2 Led 2

Related product manuals