EasyManua.ls Logo

Bosch RA1171 - Page 74

Bosch RA1171
96 pages
To Next Page IconTo Next Page
To Next Page IconTo Next Page
To Previous Page IconTo Previous Page
To Previous Page IconTo Previous Page
Loading...
74
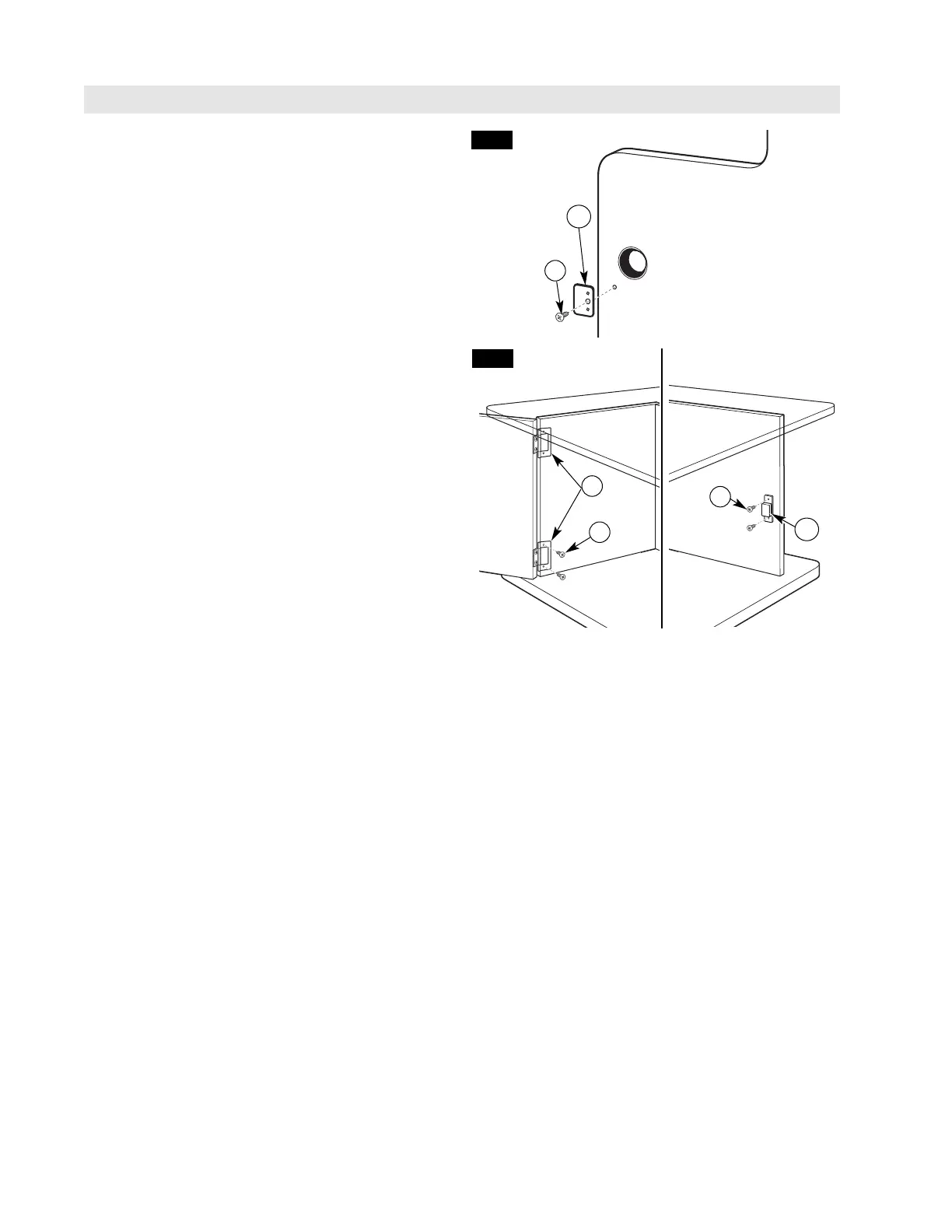
CÓMO SUJETAR LA PUERTA (Figs. 6 y 7)
SUGERENCIA: Aplicar jabón de barra o cera de
abejas a las roscas de los tornillos facilitará
la instalación en los paneles.
1.Con los relieves de la placa de retención (13B)
contra la superficie de la puerta, sujete la placa de
retención de metal sujete la placa de retención
metálica a la parte interior del extremo más angosto
de la puerta con un tornillo para madera Phillips de
cabeza plana de 5/8 (35). El borde de la placa de
retención debe estar alineado con el borde de la
puerta (Fig. 6).
2.Sujete las bisagras (12) al panel izquierdo con dos
tornillos para madera Phillips de cabeza plana de
5/8 (35) (Fig. 7).
3.Sujete la placa magnética (13A) sobre la parte
interna del panel derecho mediante dos tornillos para
madera Phillips de cabeza plana de 5/8 (35) (Fig. 7).
4.Abra y cierre la puerta lentamente a fin de
confirmar que se mueve libremente sin rozar la
parte superior ni la inferior, que no entra en contacto
con el ensamblado del interruptor, y que engancha
correctamente.
• Si la puerta roza otras superficies, verifique que los
paneles laterales y el interruptor estén ensamblados
en forma correcta.
• Si la placa magnética no hace contacto con la placa
de retención, afloje los tornillos de la primera y
vuelva a colocarla utilizando los orificios ranurados.
Puerta (visión posterior)
13B
35
13A
35
35
12
FIG. 6
FIG.7
Montaje de la mesa de fresado

Related product manuals