EasyManua.ls Logo

Boyo Vision VTHUDpro - 2. Before Using; 2.1: Remote Control Buttons

Boyo Vision VTHUDpro
19 pages
Print Icon
To Next Page IconTo Next Page
To Next Page IconTo Next Page
To Previous Page IconTo Previous Page
To Previous Page IconTo Previous Page
Loading...
- 7 -
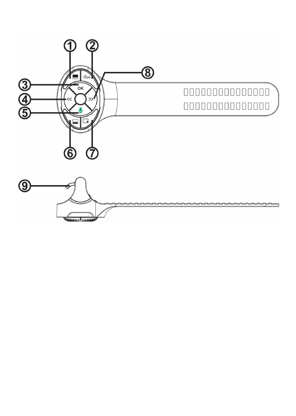
2. Before Using
2.1. Know your remote-control buttons
Upper SelectionsFor Android Auto
Function/Menu Button:
Short Press = to switch between App(Apple CarPlay/Android Auto)
and vehicle information(OBDII)
Long Press = enter menu
OK
Previous item
Voice assistant call voice assistance
Lower Selections
For Android Auto
Screen on and off
Next item

Related product manuals