EasyManua.ls Logo

Braun MultiGrill 9 - Page 25

Braun MultiGrill 9
365 pages
Print Icon
To Next Page IconTo Next Page
To Next Page IconTo Next Page
To Previous Page IconTo Previous Page
To Previous Page IconTo Previous Page
Loading...
24
This appliance conforms to EC Regulation 1935/2004
on materials and articles intended to come into contact with
food.
Disposing of the appliance
The appliance must not be disposed of with
household waste, but taken to an authorised waste
separation and recycling centre.
DESCRIPTION
1. Base and cover: solid stainless steel structure with
self-adjusting cover.
2. Handgrip: strong cast metal handgrip to adjust the
upper plate/cover according to the thickness of the food.
3. Plate release buttons: press to release and remove
the plate.
4. Grill plates lock/release device
5. Hinge release lever: enables the appliance to be fully
opened to cook in the at position.
6. Height adjustment knob: to lock the upper plate/
cover at the required height, to prepare food that does
not require pressing.
7. ON light.
8. Start/stop button.
9. Time button t: to adjust the cooking time
(decreasing).
10. Time button s: to adjust the cooking time
(increasing).
11. Lower plate "sear" button.
12. Lower plate thermostat dial: to adjust the
temperature from 60°C to 230°C, or switch o the lower
plate.
13. Upper plate "sear" button.
14. Upper plate thermostat dial: to adjust the
temperature from 60°C to 230°C, or switch o the upper
plate.
15. Removable plates: non-stick, dishwasher safe, easy
to clean. THE NUMBER AND THE TYPE OF PLATES CAN
RANGE ACCORDING TO MODEL.
15a.Grill plates: perfect for grilling steak, hamburger,
chicken and vegetables.
15b.Griddle plates: to prepare perfect pancakes, eggs,
bacon and shellsh.
15c.Upper wae plate (available with some models only
or as a separate accessory)
15d. Lower wae plate (available with some models only
or as a separate accessory): to prepare perfect waes.
16. Grease tray: integrated with appliance and removable
for easy cleaning.
17. Cleaning tool: helps clean the plates after use.
18. Wae dosing cup (some models only).
USING FOR THE FIRST TIME
Remove all packaging and labels from the plate. Before
throwing the packing material away, make sure you have
removed all parts of the new appliance. We recommend you
keep the box and packing to re-use in the future.
Please note: Before use, clean the base, cover and
dials with a damp cloth to remove dust accumulated during
transport.
Clean the cooking plates, grease tray and cleaning tool
thoroughly. The plates, grease tray and spatula are
dishwasher safe.
Please note: The rst time you use the appliance, it
may give o a slight odor and a little smoke. This is normal
and common to all appliances with non-stick surfaces. The
appliance is supplied with a cleaning tool to clean the plates
when the appliance has completely cooled down after use
(after at least 30 minutes). The cleaning tool can be used
during cooking for a few seconds to remove residual food and
oil. If you use the tool for a long time on plates which are still
hot, the plastic may melt.
Please note: the removable grill plates (grill and
griddle) are fully interchangeable on the appliance.
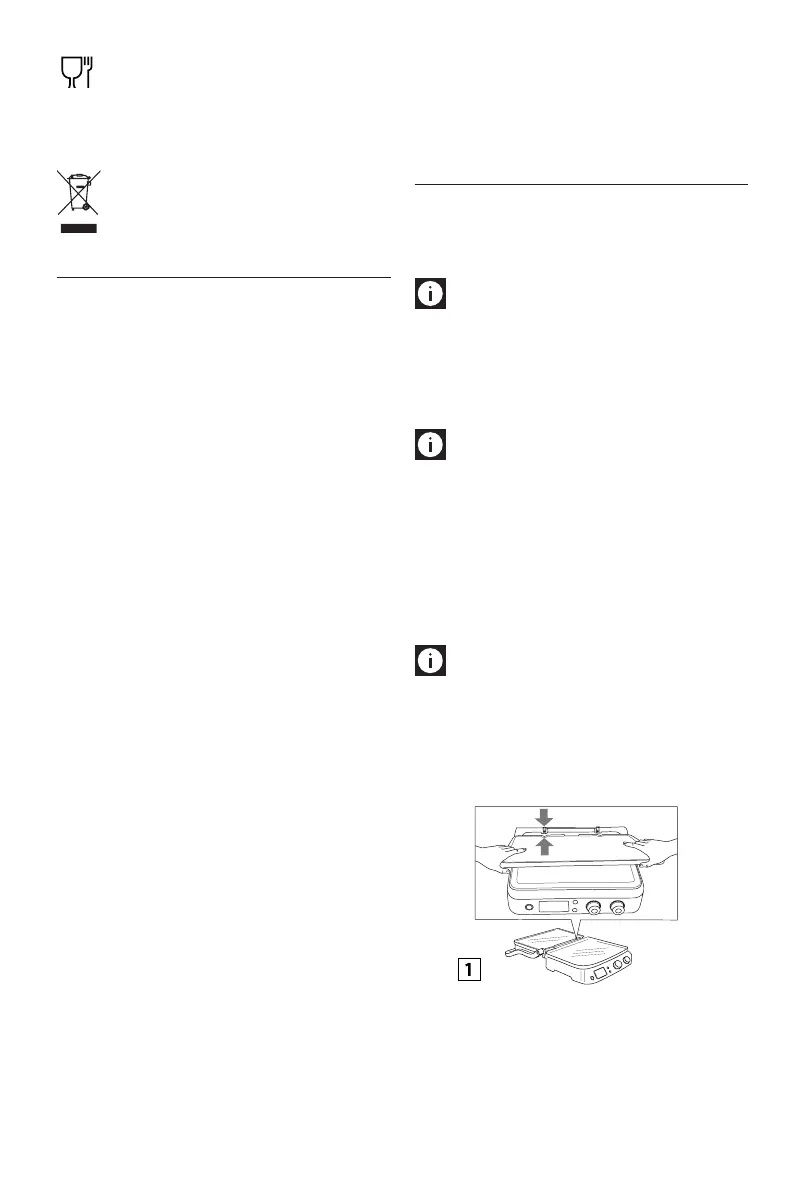
Inserting the cooking plates
- Place the appliance in the at position (see gure 1).
Insert one plate at a time.
- Each plate can be inserted in either the top or bottom
housing (see gure 2).