EasyManua.ls Logo

Broan Nutone 2730 eclipse - Page 15

Broan Nutone 2730 eclipse
24 pages
Print Icon
To Next Page IconTo Next Page
To Next Page IconTo Next Page
To Previous Page IconTo Previous Page
To Previous Page IconTo Previous Page
Loading...
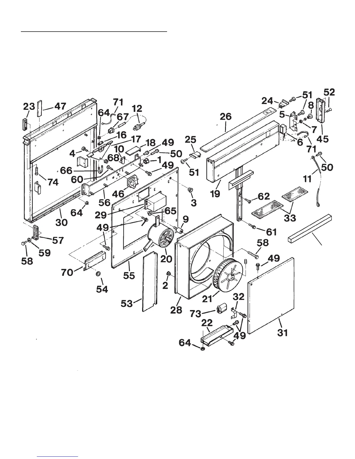
PIÈCES DE RECHANGE
Modèles 2730 et 2736
Systèmes de ventilateur à tirage vers le bas
15
75
84

Related product manuals