EasyManua.ls Logo

Broan Nutone 2730 eclipse - Page 23

Broan Nutone 2730 eclipse
24 pages
Print Icon
To Next Page IconTo Next Page
To Next Page IconTo Next Page
To Previous Page IconTo Previous Page
To Previous Page IconTo Previous Page
Loading...
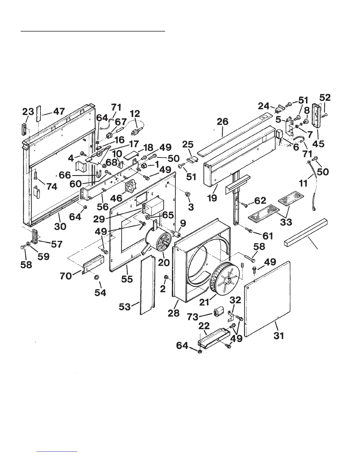
PIEZAS DE REPUESTO
Modelos 2730 y 2736
Sistema de ventilación de tiro descendente
23
75
84

Related product manuals