EasyManua.ls Logo

Brock MBP-U - Page 20

Default Icon
Print Icon
To Next Page IconTo Next Page
To Next Page IconTo Next Page
To Previous Page IconTo Previous Page
To Previous Page IconTo Previous Page
Loading...
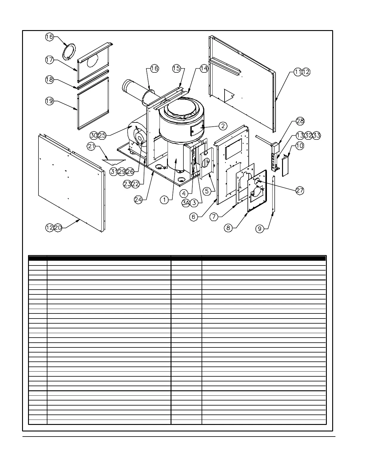
21
LISTE À BULLES
Modèle : MBP-U
DNS-0401 Rév. D
Item Description Numéro Commentaires
1 Ass échangeur de chaleur B10344 Ass. Échangeur complet
2 Ass couvercle complet B10337
3 Chambre a combustion B10042-01
3A Isolation chambre à combustion B10041 Isolation de fond chambre à combustion
4 Support de la chambre a combustion B10019-01
5 Panneau du brûleur intérieur B10147
6 Ass panneau avant B10177-02 Comprend isolation et libelles
7 Garniture, panneau du brûleur B10145
8 Ass panneau du brûleur B10180-01
9 Conduit de coin B10135
10 Couvercle boîte de jonction B10210
11 Ass panneau côte droit B10218-03 Comprend l' isolation et support
12 Isolation panneau de côté B10050-18 Droit ou gauche
13 Boite électrique B10335 Boite seule
14 Plenum déflecteur B10271
15 Ass séparateur B10270 Comprend l'isolation et langette
16 Collet tuyau à fumée B10016-03
17 Panneau haut arrière B10126-02
18 Ass tiroir filtre B10242
19 Ass porte du ventilateur B10338 Porte avec libelle
20 Ass panneau côté gauche B10218-04 Comprend l'isolation et support
21 Coin B10037-04
22 Patte ventilateur gauche B10267-02
23 Patte ventilateur droite B10267-01
24 Ass plancher B10184 Comprend plancher et vis
25 Ass ventilateur B01403-02 Comprend moteur, ventilateur et condensateur
26 Moteur 1/3 DD 4V B01890-01
27 Porte d'observation B00403
28 Contrôle de ventilateur, haute limite R02I002
29 Ass. support de moteur B01888 Comprend bande et 3 pattes
30 Roue de ventilateur Z01L002
31 Condensateur 5 MF L01I001
32 Relais 24 vac L01H009
33 Commutateur à bascule spst L07F003

Related product manuals