EasyManua.ls Logo

Brock MBP2-A - Page 39

Default Icon
Print Icon
To Next Page IconTo Next Page
To Next Page IconTo Next Page
To Previous Page IconTo Previous Page
To Previous Page IconTo Previous Page
Loading...
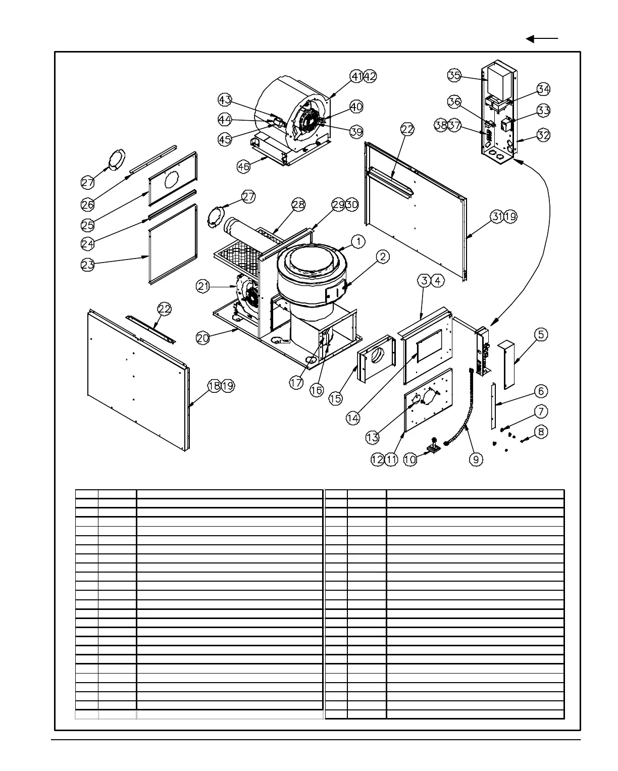
20
PARTS LIST
Model : CCC-A
ITEM
PART #
DECRIPTION
ITEM
PART #
DECRIPTION
1
B10336
HEAT EXCHANGER ASSEMBLY
23
B10338
BLOWER DOOR ASSEMBLY
2
B10337
COVER ASSEMBLY
24
B10242
FILTER DRAWER ASSEMBLY
3
B10239
TOP FRONT PANEL ASSEMBLY
25
B10200
FLUE PIPE PANEL
4
B10241
TOP FRONT PANEL INSULATION
26
B10246
PLENUM ANGLE
5
B10393
JUNCTION BOX COVER
27
B10016-02
FLUE PIPE COLLAR
6
B10397
CORNER CONDUIT
28
Z04F004-1
PAPER FILTER 20 x 20 x 1
7
F06F005
WASHER 3/8 BOLT ZINC
29
B10234
DIVIDER ASSEMBLY
8
F07F011
HEX NUT 3/8-16NC ZINC
30
B10053
DIVIDER INSULATION
9
B03118-01
ELECTRICAL KIT EXT. BVSO
31
B10235-03
RIGHT SIDE PANEL ASSEMBLY
10
Z06G001
BLOCKED VENT SHUT OFF BVSO
32
B10394
ELECTRICAL BOX
11
B10237
FRONT BOTTOM PANEL ASSEMBLY
33
L01H009
RELAY, 24 VAC SPDT
12
B10238
FRONT BOTTOM PANEL INSULATION
34
L01F009
TRANSFORMER 120-24 Volts, 40 VA
13
B00403
OBSERVATION DOOR
35
R02I002
FAN LIMIT 11-1/2'' HON L6064A
14
B10243
CLEANOUT DOOR ASSEMBLY
36
L07F003
ROCKER SWITCH SPST
15
B10233
INTERIOR BURNER PANEL ASSEMBLY
37
L05F009
TERMINAL STRIP 4 POSITIONS
16
B10019-01
COMBUSTION CHAMBER SUPPORT
38
L05F007
RETAINING CLIP
17A
B10042
COMBUSTION CHAMBER
39
B01890-01
MOTOR 1/3 HP DD 4SP
17B
B10041
COMBUSTION CHAMBER INSULATION
40
B01888
BELLY BAND ASSEMBLY (BAND & 3 LEGS INCLUDED)
18
B10235-02
LEFT SIDE PANEL ASSEMBLY
41
Z01I002
BLOWER 10-8DD (HOUSING & WHEEL INCLUDED)
19
B10050-15
SIDE PANEL INSULATION (LEFT OR RIGHT)
42
Z01L001
BLOWER WHEEL 10-8DD
20
B10236
FLOOR ASSEMBLY
43
L99Z007
RUBBER CAP OVAL
21
B01403-03
BLOWER ASSEMBLY (MOTOR & CAPACITOR INCLUDED)
44
B01024
CAPACITOR BRACKET
22
B10139
FILTER SUPPORT
45
L01I001
CAPACITOR 5 MF
46
B10408
BLOWER SUPPORT
B50026 Rev. A

Related product manuals