EasyManua.ls Logo

Brock MBPF-A - Page 15

Default Icon
Print Icon
To Next Page IconTo Next Page
To Next Page IconTo Next Page
To Previous Page IconTo Previous Page
To Previous Page IconTo Previous Page
Loading...
DNS-1008 Rev. A
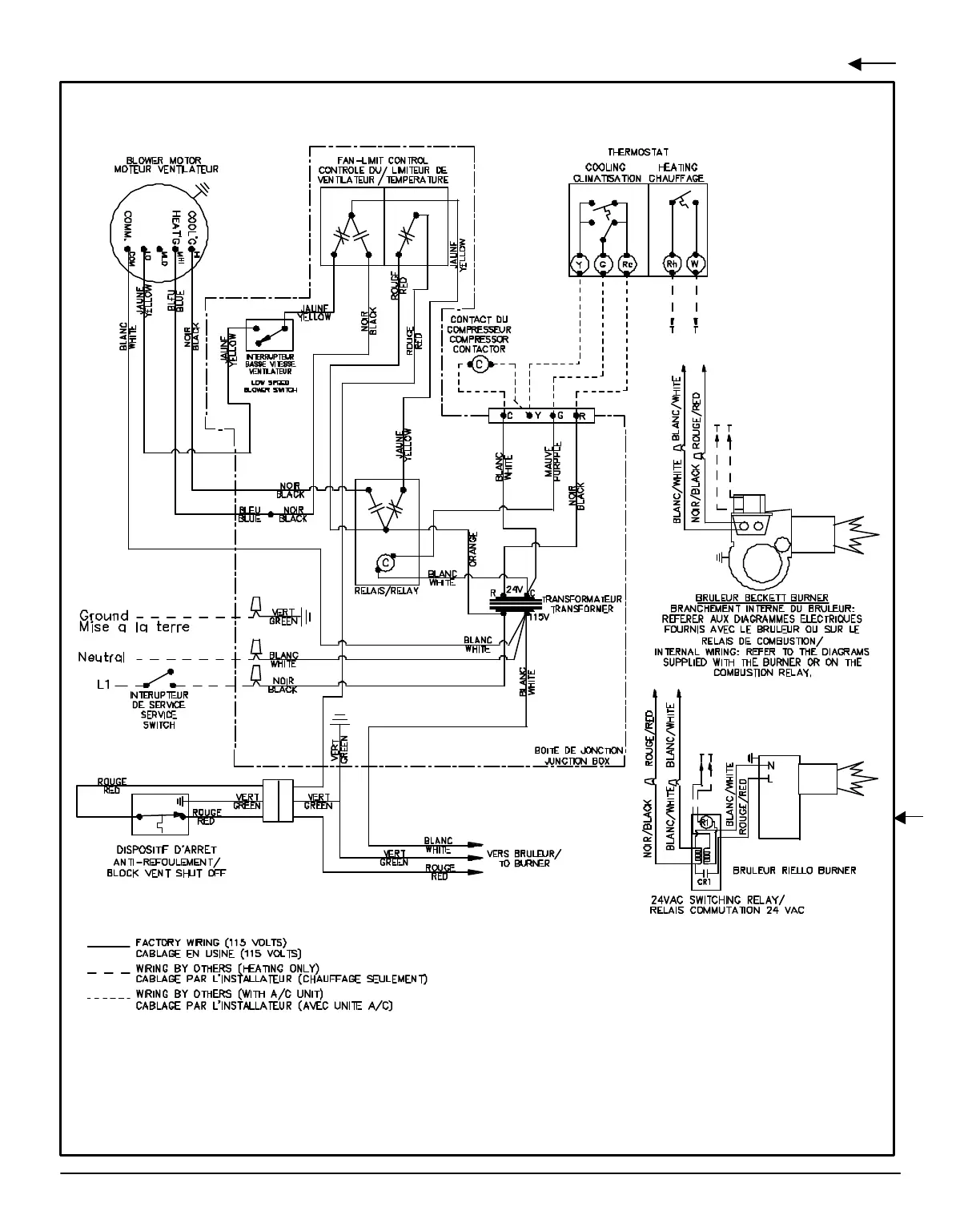
DIAGRAMME ÉLECTRIQUE
Modèle : CCC MBP
16

Related product manuals