EasyManua.ls Logo

Brock MBPF-A - Page 40

Default Icon
Print Icon
To Previous Page IconTo Previous Page
To Previous Page IconTo Previous Page
Loading...
21
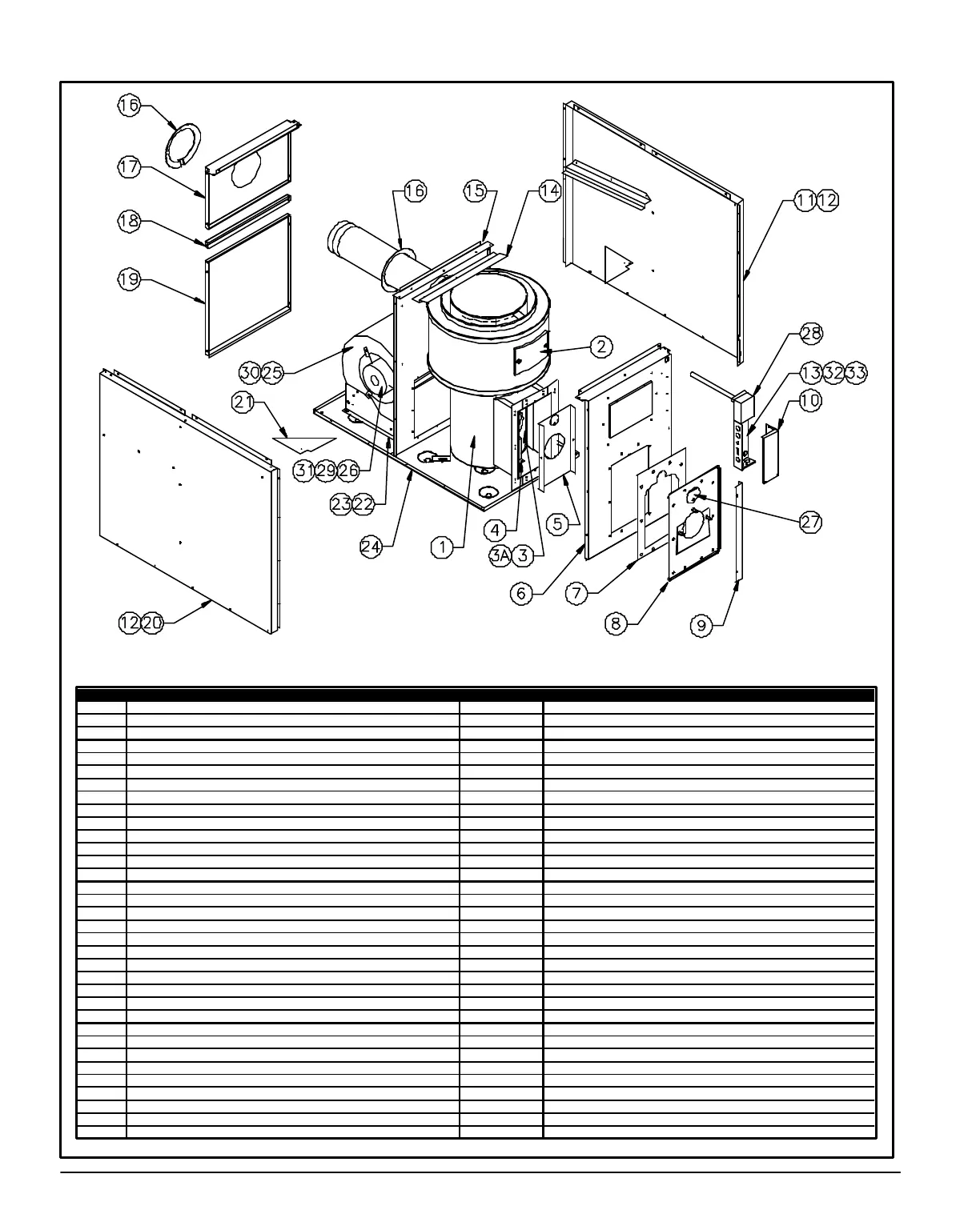
PARTS LIST
Model : MBP-U
DNS-0401 Rev. D
Item Description Number Comments
1 Heat exchanger assembly B10344 Complete heat exchanger assembly
2 Complete cover assembly B10337
3 Combustion chamber B10042-01
3A Combustion chamber insulation B10041 Bottom combustion chamber insulation
4 Combustion chamber support B10019-01
5 Interior burner panel B10147
6 Front panel assembly B10177-02 With insulation and label
7 Burner panel gasket B10145
8 Burner panel assembly B10180-01
9 Corner conduit B10135
10 Jonction box cover B10210
11 Right side panel assembly B10218-03 With insulation and filter support
12 Side panel insulation B10050-18 Right and left
13 Electrical box B10335 Only the box
14 Baffle plenum B10271
15 Divider assembly B10270 With insulation and strip
16 Flue pipe collar B10016-03
17 Rear top panel B10126-02
18 Filter drawer assembly B10242
19 Blower door assembly B10338 Door with label
20 Left side panel assembly B10218-04 With insulation and filter support
21 Corner B10037-04
22 Left blower leg B10267-02
23 Right blower leg B10267-01
24 Floor assembly B10184 With floor and screw
25 Blower assembly B01403-02 With blower, motor and capacitor
26 Motor 1/3 HP DD 4V B01890-01
27 Observation door B00403
28 Fan limit R02I002
29 Motor support assembly B01888 With band and 3 legs
30 Blower wheel Z01L002
31 Capacitor L01I001
32 24 VAC relay L01H009
33 Rocker switch SPST L07F003

Related product manuals