EasyManua.ls Logo

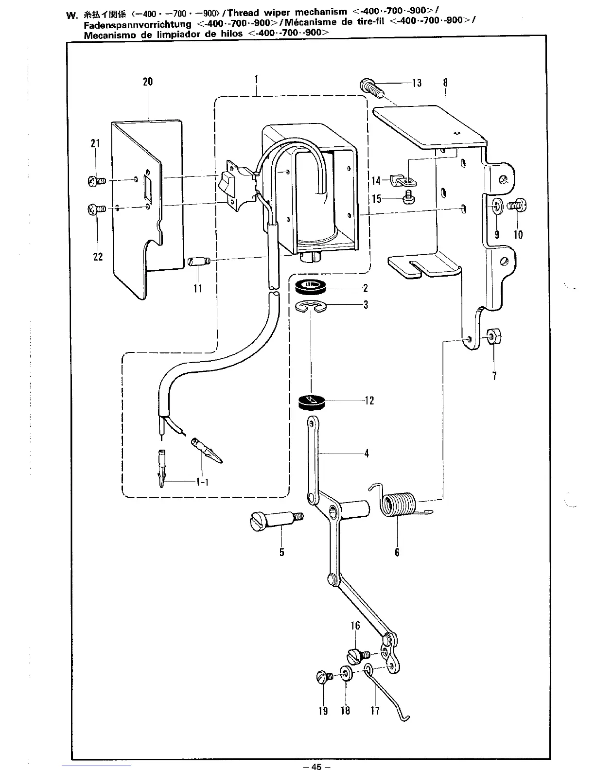
Brother DB2-B774 - Thread Wiper Mechanism

Brother DB2-B774
84 pages
Print Icon
To Next Page IconTo Next Page
To Next Page IconTo Next Page
To Previous Page IconTo Previous Page
To Previous Page IconTo Previous Page
Loading...

Related product manuals