EasyManua.ls Logo

BRP Evinrude E-TEC G2 200 HP - Page 161

BRP Evinrude E-TEC G2 200 HP
164 pages
Print Icon
To Next Page IconTo Next Page
To Next Page IconTo Next Page
To Previous Page IconTo Previous Page
To Previous Page IconTo Previous Page
Loading...
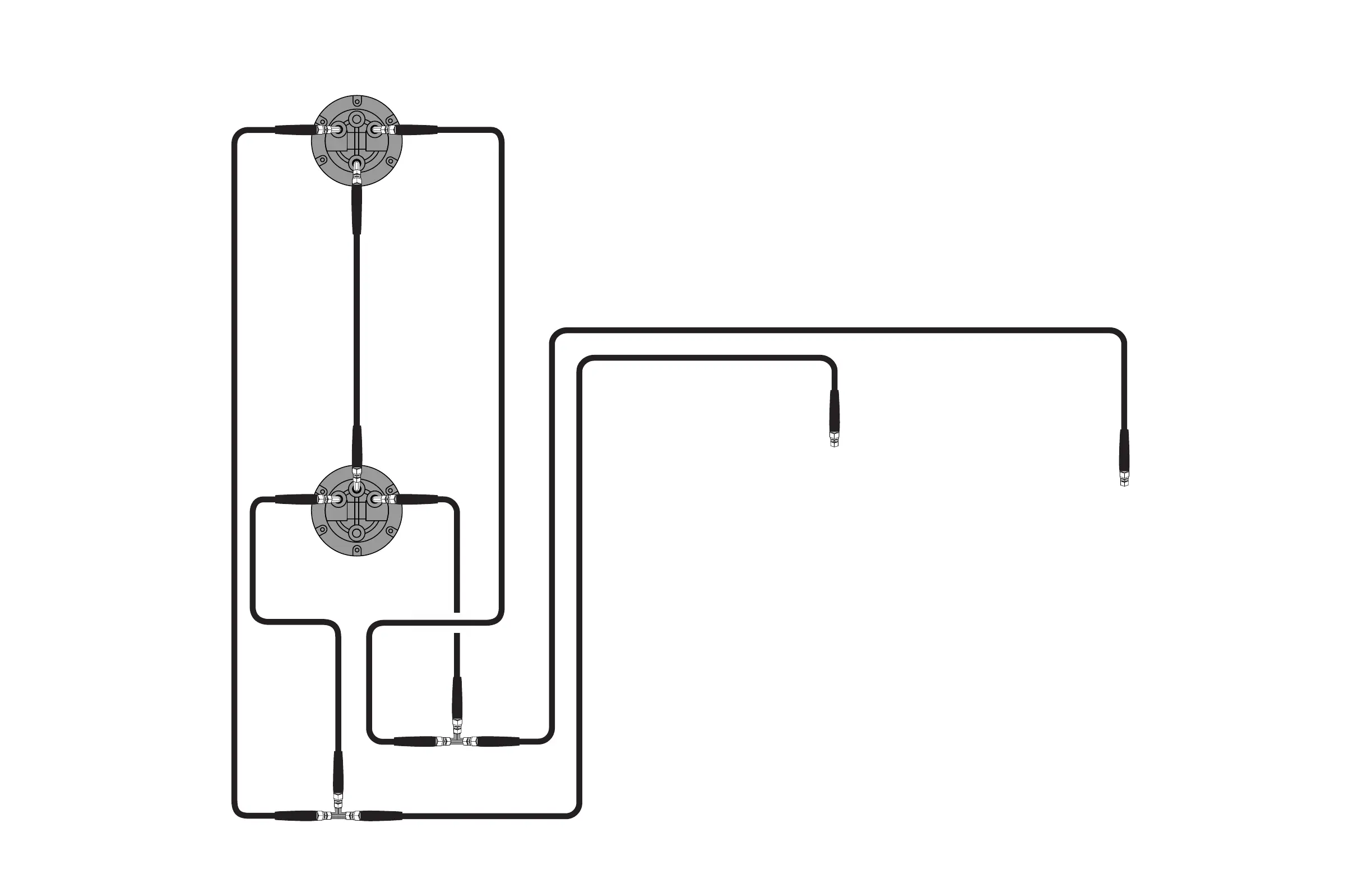
08_Steering Hose Diagram
2 Stations
4 Engines:
2 DPS, 2 non-DPS
2 Standard Rotation & 2 Counter Rotation
Mechanical Tie Bar
S P
S P
S
P
S
P
1
2
3
4
8
5
6
7
8
10
9
Page 1 of 2

Table of Contents