EasyManua.ls Logo

Bryant 880TB - Page 49

Bryant 880TB
50 pages
Print Icon
To Next Page IconTo Next Page
To Next Page IconTo Next Page
To Previous Page IconTo Previous Page
To Previous Page IconTo Previous Page
Loading...
880TB/881TB: Installation, Start–Up, Operating and Service and Maintenance Instructions
Manufacturer reserves the right to change, at any time, specifications and designs without notice and without obligations.
49
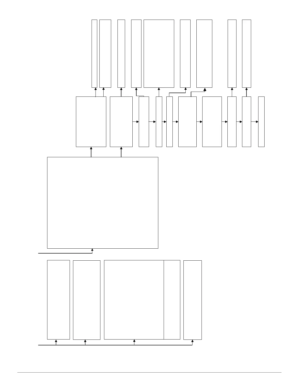
A230354
Fig. 53 – Troubleshooting Guide
34.1 IGNITION FAULT – during four consecutive ignition
trials. Check the following items first before proceeding to
the next step.
- Gas valve turned off
- Manual shut-off valve
- Green/Yellow wire MUST be connected to furnace
sheet metal
- Flame sensor must not be grounded
34.5 AFTER SUCESSFUL IGNITION (flame proven) Low heat
flame loss before heating blower on delay.
34.6 AFTER SUCESSFUL IGNITION (flame proven) High
heat flame loss before heating blower on delay.
34.7 AFTER SUCCESSFUL IGNITION (flame proven) Low
flame loss after heating blower on delay.
34.8 AFTER SUCCESSFUL IGNITION (flame proven) Low
flame loss after heating blower on delay.
IGNITION PROVING FAILURE – If flame is not sensed during
the trial for ignition period, the control will repeat the ignition
sequence 3 more times before lockout #14 occurs. If flame
signal is lost during the blower on-delay period, blower will come
on for the selected blower off-delay. To determine whether the
problem is in the gas valve, igniter, or flame sensor the system
can be operated in the component test mode to check the
igniter. First remove the R thermostat connection from the
control and initiate the component test sequence. Does the
igniter glow orange/white by the end of the 15 second warm-up
period?
Unplug igniter harness from
control and initiate another
component test sequence. Check
for 115V between pin 1 and
NEUTRAL-L2 on the control.
Was 115V present for the 15
second period?
Reconnect the R thermostat lead
and set thermostat to call for heat.
Connect voltmeter across gas
valve connections. Does gas
valve receive 24V?
Does gas valve open and allow
gas to flow?
Does the main burners ignite?
Do the main burners stay on?
Repeat call for heat and check
flame sensor current during trial
for ignition period. Is the DC
microamps below 0.5?
Clean flame sensor with fine steel
wool and recheck current.
Nominal current is 4.0 to 6.0
microamps.
Is current near typical value?
Will main burners ignite and stay
on?
Fixed
Replace furnace control.
Check for continuity in the harness and igniter.
Replace defective component.
Check connections. If OK, replace control.
Check that all gas valves are turned on.
Replace valve.
Check for:
- Inadequate flame carryover or rough
ignition
- Low inlet gas pressure
- Proper firing rate
- Blocked or incorrect carry-over gap
(.045" nominal)
Allow blower to come on and repeat test to
check for intermittent operation.
Check connections and retry. If current is near
typical value (4.0-6.0 nominal) and burners will
not stay on, replace control.
Replace electrode.
Replace furnace control.
NO
YES
NO
YES
YES
YES
NO
YES
YES
YES
NO
YES
NO
NO
N
O
Y
E
S
NO
NO
25.1 NO PROGRAM info in micro, no heating
operation.
25.2 CORRUPTED PROGRAM FILE, reprogram
control using service app or super plug
(supplied separately), no heating operation.
25.4 MAIN PROGRAM INVALID , using backup
program to operate. Reprogram control to
correct issue. Control still operates normally.
25.5 INSTALLER SETTINGS CORRUPTED. Try
reselecting installer settings, or reprogram
control. Control will operate using default
installer settings.
25.6 WRONG PROGRAM for control used –
reprogram control so program matches control
used. No heating operation.
If program in furnace control is missing, not recognized,
or corrupted. Reprogram control with correct program #
as listed on the rating plate. Replace control if issue
remains.
Only the MAJOR flash code is seen through the sight glass on door.
27.1 Program in super plug is missing, not
27.2 recognized, or corrupted. Remove super plug
27.3 then retry. If still have 27 code, try a different
super plug. If still fails, replace control.
24.1 FUSE FAULT
Check for:
- Short circuit in secondary voltage (24-V) wiring
including thermostat leads. Disconnect thermostat
leads to isolate short circuit.
23.4 LPS pressure switch
23.5 HPS pressure switch
Check for:
- Obstructed pressure tube.
- Pressure switch stuck closed.

Related product manuals