EasyManua.ls Logo

Bryant 912S - Page 14

Bryant 912S
85 pages
Print Icon
To Next Page IconTo Next Page
To Next Page IconTo Next Page
To Previous Page IconTo Previous Page
To Previous Page IconTo Previous Page
Loading...
14
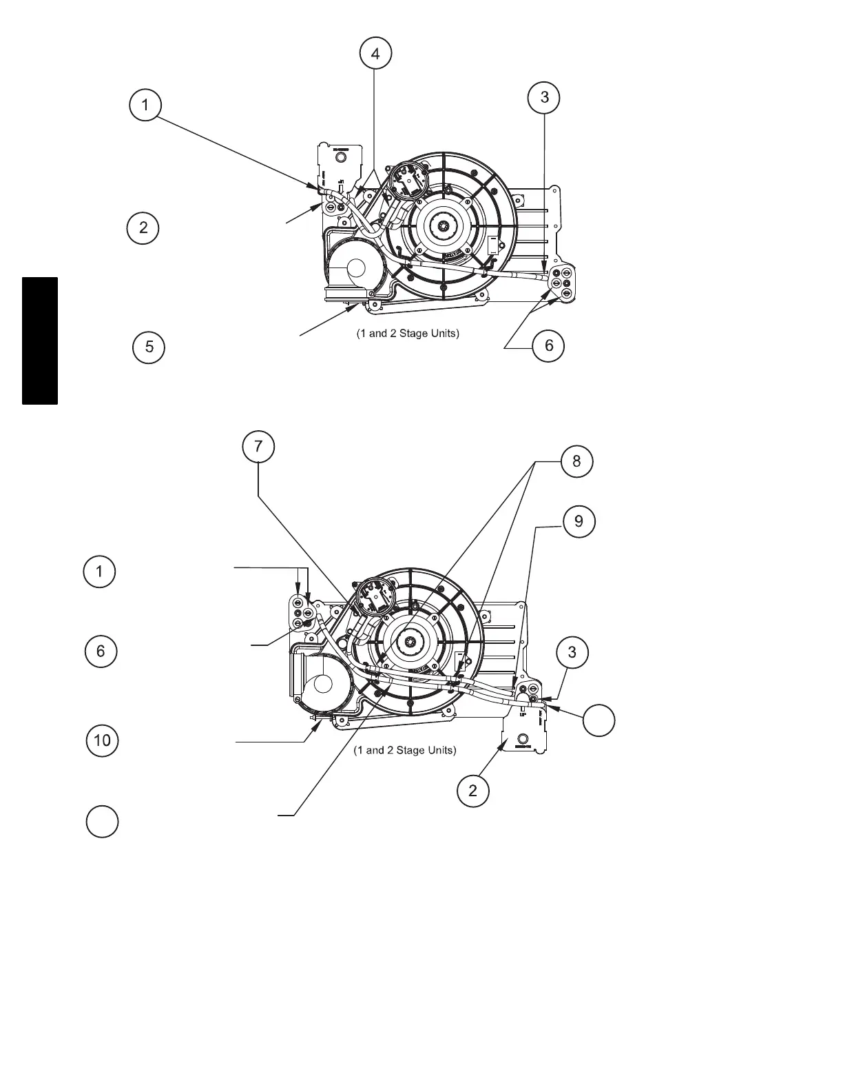
Remove relief tube from relief
port on condensate trap.
Remove the screw
that secures the trap
to the collector box and
remove trap.
Loosen clamp on inlet
to vent elbow.
Remove pressure switch tube from
front pressure switch and discard. A
new tube is shipped in the loose parts bag.
Remove tube from relief port.
Remove middle and bottom
plugs. DO NOT DISCARD.
Unconverted Factory Configuration as
Viewed in the Downflow Orientation
Install the two plugs
previously removed
on the open ports
of the collector box.
Connect relief tube
to port on collector
box.
Rotate elbow to
desired position and
tighten clamp to
15 lb.ïin.
Slide tube in standïoffs
to adjust length.
Connect the new pressure switch
tube from Loose Parts bag to
port on front pressure switch.
Route tube through inducer
standïoffs to adjust position
of the tube.
Trim excess tube.
Connect pressure switch
tube to port on collector
box.
Attach condensate trap
with screw to collector box.
Connect relief tube to
relief port on condensate
trap.
Align condensate trap
over middle and bottom
ports of collector box.
4
5
Downflow Trap Configuration
A11587
Fig. 9 Downflow Trap Configuration
(Appearance may vary)
912S

Related product manuals