EasyManua.ls Logo

Bryant 912S - Page 6

Bryant 912S
85 pages
Print Icon
To Next Page IconTo Next Page
To Next Page IconTo Next Page
To Previous Page IconTo Previous Page
To Previous Page IconTo Previous Page
Loading...
6
A180203
912SC
FURNACE SIZE
A B C D
SHIP WT.
LB (KG)
CABINET WIDTH OUTLET WIDTH BOTTOM INLET WIDTH AIR INTAKE
30040
14-3/16 (361) 12-1/2 (319) 12-9/16 (322) 7-1/8 (181)
121.0 (55.0)
36060 125.0 (56.8)
36040
17-1/2 (445) 15-7/8 (403) 16 (406) 8-3/4 (222)
132.0 (60.0)
48060 142.0 (64.5)
48080 151.0 (68.6)
60080
21 (533) 19-3/8 (492) 19-1/2 (495) 10-1/2 (267)
158.5 (72.0)
48100 166.5 (75.7)
60100 166.5 (75.7)
60120 24-1/2 (622) 22-7/8 (581) 23 (584) 12-1/4 (311) 184.0 (83.6)
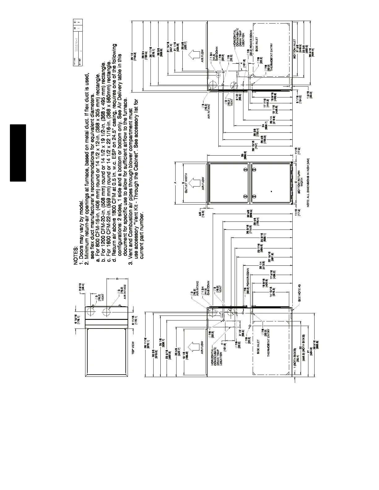
Fig. 1 Dimensional Drawing
912S

Related product manuals