EasyManua.ls Logo

Caliber MCD-263 - Page 4

Caliber MCD-263
19 pages
Print Icon
To Next Page IconTo Next Page
To Next Page IconTo Next Page
To Previous Page IconTo Previous Page
To Previous Page IconTo Previous Page
Loading...
7. Reconnect the wire harness and the
antenna and be careful not to pinch any
wires or cables.
8. Slide the unit into the sleeve until it locks
into place.
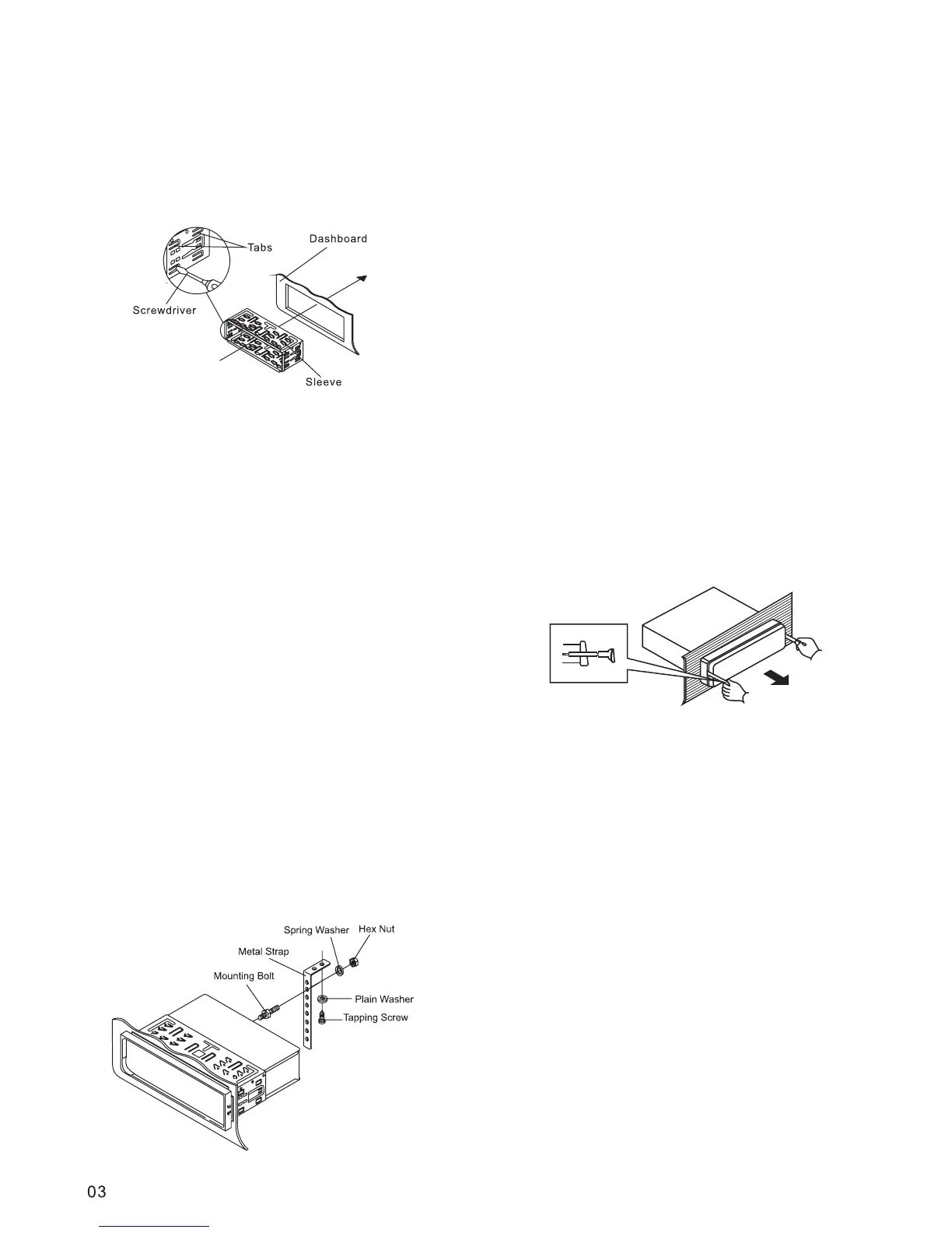
9. To further secure the unit, use the
supplied metal strap to secure the back of
the unit in place. Use the supplied hardware
(Hex Nut (M5mm) and Spring Washer) to
attach one end of the strap to the mounting
bolt on the back of the unit. If necessary,
bend the metal strap to fit your vehicle's
mounting area. Then use the supplied
hardware (Tapping Screw (5x25mm) and
Plain Washer) to attach the other end of
metal strap to a solid metal part of the
vehicle under the dashboard. This strap
also helps ensure proper electrical
grounding of the unit.
Note to install the short threading terminal
of the mounting bolt to the back of the unit
and the other long threading terminal to the
dashboard.
6. Mount the sleeve by inserting the sleeve
into the opening of the dashboard and bend
open the tabs located around the sleeve
with a screwdriver. Not all tabs will be able
to make contact, so examine which ones
will be most effective. Bending open the
appropriate tabs behind the dashboard to
secure the sleeve in place.
10. Reconnect the cable to the vehicle
battery's negative (-) terminal. Then
replace the outer trim ring and install the
unit's front panel (see the steps of 'to install
the front panel').
1. Make sure the ignition is turned off, and
then disconnect the cable from the vehicle
battery's negative (-) terminal.
2. Remove the metal strap attached the
back of the unit (if attached).
3. Press the release button to remove the
front panel.
4. Lift the top of the outer trim ring then pull
it out to remove it.
5. Insert both of the supplied keys into the
slots at the middle left and right sides of the
unit then pull the unit out of the dashboard.
Removing the unit

Related product manuals