EasyManua.ls Logo

Candy CDIN 1D360PB - Page 22

Candy CDIN 1D360PB
Print Icon
To Next Page IconTo Next Page
To Next Page IconTo Next Page
To Previous Page IconTo Previous Page
To Previous Page IconTo Previous Page
Loading...
22
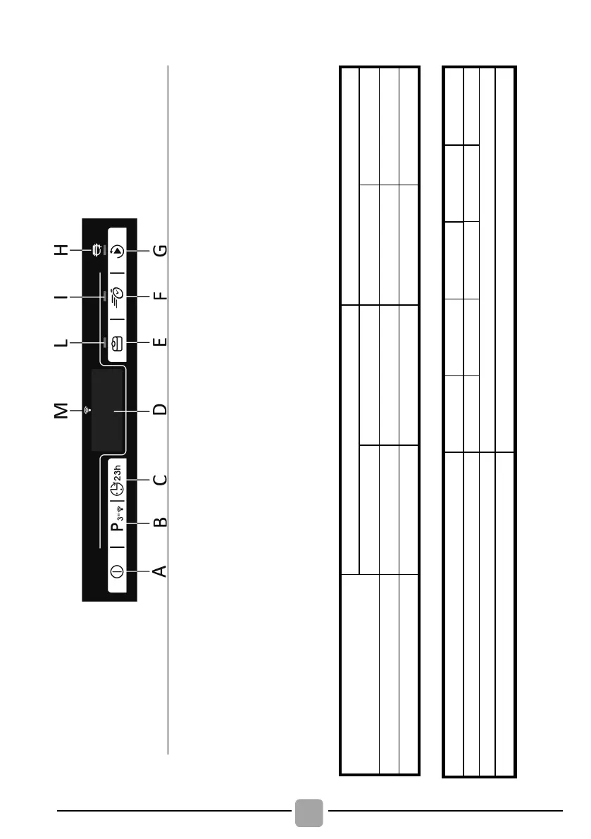
13. DESCRIZIONE COMANDI
G
Pulsante "START/RESET
"
H
Spia "ADDISH"
I
Spia "EXPRESS"
L
Spia "TABS"
M
Spia "Wi
-Fi"
A
Pulsante "
ON/OFF"
B
Pulsante "SELEZIONE PROGRAMMI"/Arruolamento Wi
-Fi
C
Pulsante "PARTENZA RITARDATA"
D
DISPLAY
E
Pulsante opzione "TABS"
F
Pulsante opzione "EXPRESS"
14. DATI TECNICI
DATI TECNICI (vedi targhetta dati)
16
9 persone
Min. 0,08 Max. 0,8
Vedere targhetta dati
15
9 persone
14
9 persone
13
8 persone
12
8 persone
C
operti (EN 50242)
Capacità con pentole e piatti
P
ressione nell’ impianto idraulico (MPa)
A
mpere fusibile / Potenza max assorbita / tensione di alimentazione
DIMENSIONI
INCASSO
SCOMPARSA TOTALE
59,8x81,8 ÷ 89,8x55
117
CRUSCOTTO A VISTA
59,8x81,8 ÷ 89,8x57
117
ACCOSTO
SENZA PIANO DI LAVORO
59,8x82x58
117
CON PIANO DI LAVORO
60x85x60.9
120
DATI
Larghezza x Altezza x Profondità (cm)
Ingombro con porta aperta (cm)

Related product manuals