EasyManua.ls Logo

Candy CDIN 1D360PB - Description of the Control Panel; Technical Data

Candy CDIN 1D360PB
Print Icon
To Next Page IconTo Next Page
To Next Page IconTo Next Page
To Previous Page IconTo Previous Page
To Previous Page IconTo Previous Page
Loading...
96
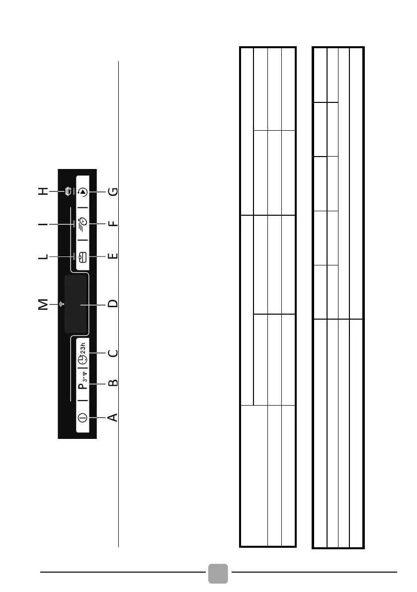
13. DESCRIPTION OF THE
CONTROL PANEL
G
"START/RESET" button
H
"ADDISH" light
I
"EXPRESS" light
L
"TABS" light
M "Wi-Fi" light
A
ON/OFF Button
B
"PROGRAMME SELECTION" button/ENROLMENT Wi
-Fi
C
"DELAY START" button
D
DISPLAY
E
"TABS" option button
F
"EXPRESS" option button
14. TECHNICAL DATA
TECHNICAL DATA (See rating plate)
16
9 people
Min. 0,08 Max. 0,8
See rating plate
15
9 people
14
9 people
13
8 people
12
8 people
Place settings (EN 50242)
Capacity with pans and dishes
Water supply pressure (MPa)
Fuse / Power input / Supply voltage
SIZE
BUILT-IN
FULL
-
INTEGRATED
59,8x81,8 ÷ 89,8x55
117
HALF-
INTEGRATED
59,8x81,8 ÷ 89,8x57
117
FREE-STANDING
WITHOUT WORKTOP
59,8x82x58
117
WITH WORKTOP
60x85x60.9
120
DATA
Width x Height x Depth (cm)
Depth with door open (cm)

Related product manuals