EasyManua.ls Logo

Candy CDIN 2D520PB/E - 13. BESCHREIBUNG DES BEDIENFELDS; 14. TECHNISCHE DATEN

Candy CDIN 2D520PB/E
Print Icon
To Next Page IconTo Next Page
To Next Page IconTo Next Page
To Previous Page IconTo Previous Page
To Previous Page IconTo Previous Page
Loading...
62
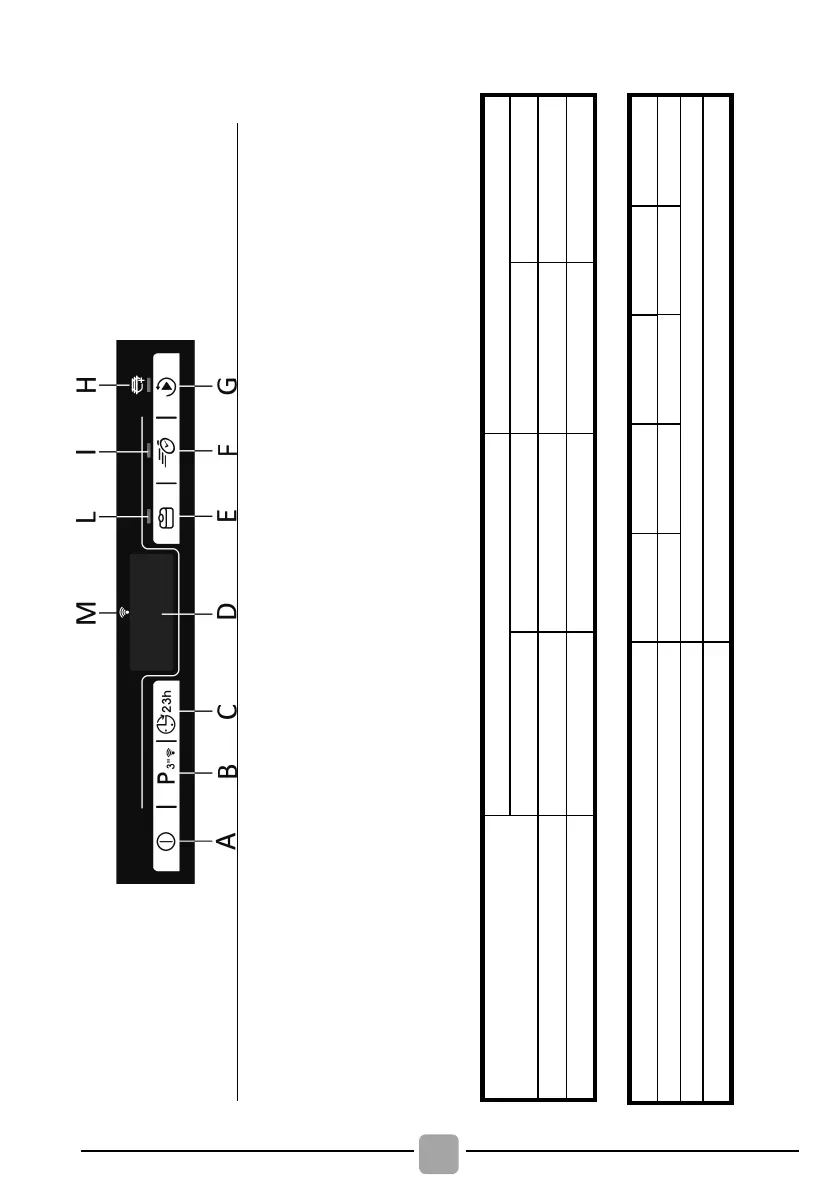
13. BESCHREIBUNG DES
BEDIENFELDS
G
Taste "STARTEN/ABBRECHEN"
H
Leuchte "ADDISH"
I
Leuchte "EXPRESS"
L
Leuchte "TABS"
M
Leuchte "Wi
-Fi"
A
EIN/AUS
-Taste
B
Taste "PROGRAMMAUSWAHL"/REGISTRIERUNG Wi
-Fi
C
Taste "EINSCHALTVERZÖGERUNG"
D
ANZEIGE
E
Optionstaste "TABS"
F
Optionstaste "EXPRESS"
14. TECHNISCHE DATEN
TECHNISCHE DATEN (siehe Typenschild)
16
9 Personen
Min. 0,08 – Max. 0,8
Siehe Typenschild
15
9 Personen
14
9 Personen
13
8 Personen
12
8 Personen
Gedecke (EN 50242)
Aufnahmefähigkeit inklusive Pfannen und Tellern
Wasserleitungsdruck (MPa)
Sicherung / Eingangsleistung / Netzspannung
GRÖSSE
EINBAUMODELL
EINGEBAUT
59,8x81,8 ÷ 89,8x55
117
HALB INTEGRIERT
59,8x81,8 ÷ 89,8x57
117
FREISTEHEND
OHNE
ARBEITSPLATTE
59,8x82x58
117
MIT
ARBEITSPLATTE
60x85x60.9
120
DATEN
Breite x Höhe x Tiefe
(cm)
Tiefe bei geöffneter Tür (cm)

Table of Contents

Related product manuals