EasyManua.ls Logo

Candy CEHDD30TCT - Prehľad Vý Robku; Pohľad Zhora; Ovládací Panel

Candy CEHDD30TCT
259 pages
Print Icon
To Next Page IconTo Next Page
To Next Page IconTo Next Page
To Previous Page IconTo Previous Page
To Previous Page IconTo Previous Page
Loading...
SK-8
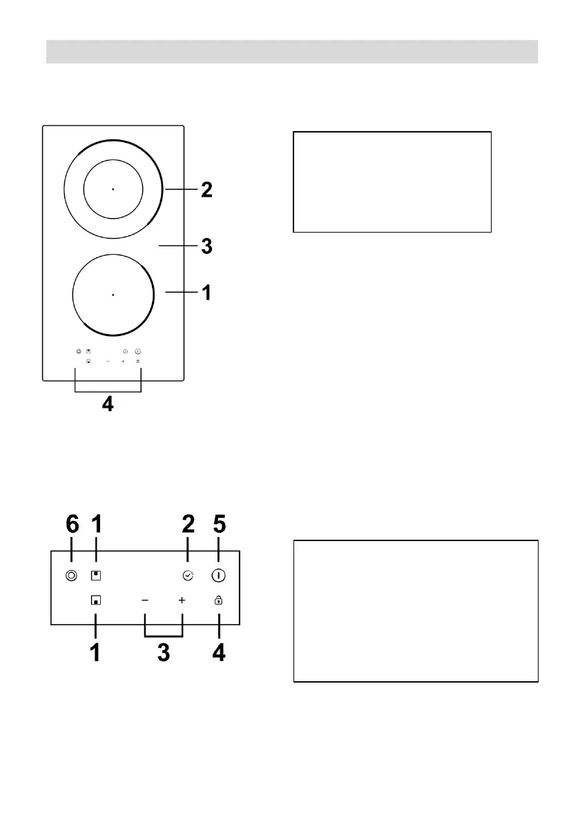
1. zóna 1200 W
2. zóna 2000/1000 W
3. Sklenená doska
4. Ovládací panel
1. Ovládače výberu ohrevnejny
2. Ovládač časovača
3. Tlačidlo na ovládanie
výkonu/časovača
4. Ovládač uzamknutia tlačidiel
5. Vypínač Zapnúť/Vypnúť
6. Ovládač dvojitejny
Prehľad robku
Pohľad zhora
Ovládací panel

Table of Contents

Related product manuals