EasyManua.ls Logo

Candy CI6DTP - Page 181

Candy CI6DTP
248 pages
Print Icon
To Next Page IconTo Next Page
To Next Page IconTo Next Page
To Previous Page IconTo Previous Page
To Previous Page IconTo Previous Page
Loading...
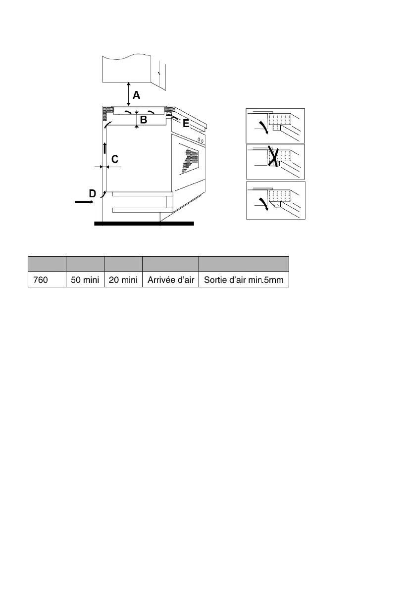
A(mm)
B(mm)
C(mm)
D
E
Avant d’installer la table, s’assurer que:
le plan de travail est plane, et qu’aucun élément ne vienne entraver l’espace
cessaire
le plan de travail est composé de matériaux résistant à la chaleur
si la table est instale au-dessus d’un four, le four est équipé d’une turbine de
refroidissement
l’installation se conformera à toutes les exigences et les normes en vigueur
le raccordement électrique au réseau doit être effectué par une prise de
courant avec prise de terre, ou par l’intermédiaire d’un dispositif à coupure
omnipolaire ayant une distance d’ouverture d’au moins 3 mm
la prise de terre est facilement accessible une fois la table installée
en cas de doute sur l’installation, contacter les autorités locales
des matériaux sistant à la chaleur et faciles à nettoyer (comme des carreaux
en faïence) entourent la table.
FR-27

Table of Contents

Related product manuals