EasyManua.ls Logo

Candy CIES633MCTT - Vue Densemble du Produit; Vue de Dessus; Panneau de Commande

Candy CIES633MCTT
62 pages
Print Icon
To Next Page IconTo Next Page
To Next Page IconTo Next Page
To Previous Page IconTo Previous Page
To Previous Page IconTo Previous Page
Loading...
FR-10
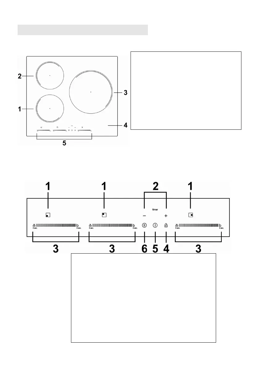
Vue d’ensemble du produit
Vue de dessus
1. Foyer 2000 W, augmenté à 2600 W
2. Foyer 1500 W, augmenté à 2000 W
3. Foyer 2300 W, augmenté à 3000 W
4. Table de verre
5. Panneau de commande
Panneau de commande
1. Indicateur de sélection du foyer de cuisson
2. Touche du temporisateur
3. Touche de réglage de la puissance/Touche
Fonction Boost/Touche Fonction Maintien au
chaud
4. Touche de verrouillage
5. Touche marche/arrêt
6. Touche Pause

Related product manuals