EasyManua.ls Logo

Candy CIFS85MCTT - Page 106

Candy CIFS85MCTT
128 pages
Print Icon
To Next Page IconTo Next Page
To Next Page IconTo Next Page
To Previous Page IconTo Previous Page
To Previous Page IconTo Previous Page
Loading...
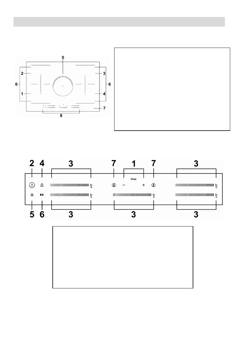
PL-9
1.
Strefa 2000 W, z funkcją Boost do 2600 W.
2.
Strefa 1500 W, z funkcją Boost do 2000 W.
3.
Strefa 2000 W, z funkcją Boost do 2600 W.
4.
Strefa 1500 W, z funkcją Boost do 1800 W.
5.
Strefa 2000 W, z funkcją Boost do 2600 W.
6.
Strefa Flex, 2800 W, tryb Boost 3500 W
7.
Płyta szklana.
8.
Panel sterowania.
1.
Przycisk regulatora czasowego.
2.
Przycisk włączania/wyłączania
3.
Przycisk regulacji mocy / Przycisk funkcji Boost
4.
Przycisk blokady
5.
Przycisk funkcji podtrzymania temperatury
6.
Przycisk zatrzymywania i uruchamiania funkcji
7.
Strefa Flex
Widok produktu
Widok z góry
Panel sterowania

Related product manuals