Home
Candy
Hob
CIFS85MCTT
Page 73 (Ansicht von Oben)
Candy CIFS85MCTT - Ansicht von Oben
128 pages
Manual
Save Page as PDF
To Next Page
To Next Page
To Previous Page
To Previous Page
Loading...
DE
-8
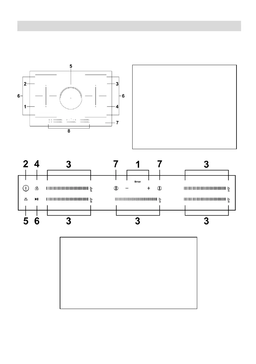
1.
Timer-Steuerung
2.
EIN/A
US-Steuerung
3.
T
as
te
Leistungsstufen/ Booster-Funktion
4.
Sperrfunk
tion
5.
Ke
ep
w
arm function
6.
T
as
te
Pausieren und Fortsetzen
7.
Flex-Zone
Produktü
bersicht
Ansicht von oben
Bedienfeld
1,2000 W-Zone, Boost auf 2600W
2,1500 W-Zone, Boost auf 2000W
3,2000 W-Zone, Boost auf 2600W
4,1500 W-Zone, Boost auf 200W
5,2000 W-Zone, Boost auf 2600W
6,
Flex-Zone,
2800W
Boost
3
500W
7,Glasplatte
8,Bedienfeld
72
74
Table of Contents
Main Page
Safety Warnings
2
Cut Hazard
2
Important Safety Instructions
2
Health Hazard
3
Product Overview
9
Top View
9
Control Panel
9
A Word on Induction Cooking
10
Before Using Your New Induction Hob
10
Using the Touch Controls
10
Choosing the Right Cookware
11
Pan Dimensions
12
Using Your Induction Hob
12
To Start Cooking
12
When You Have Finished Cooking
13
Restrictions When Using
16
Using the Pause Function
17
As Two Independent Zones
18
Locking the Controls
19
Over Temperature Protection
19
Auto Shutdown Protection
19
Using the Timer as a Minute Minder
20
Setting the Timer to Turn One Cooking Zone off
21
Care and Cleaning
23
Hints and Tips
24
Failure Display and Inspection
25
Technical Specification
25
Selection of Installation Equipment
26
Before Locating the Fixing Brackets
28
Adjusting the Bracket Position
28
Connecting the Hob to the Mains Power Supply
29
Avvertenze DI Sicurezza
33
Importanti Istruzioni DI Sicurezza
36
Panoramica del Prodotto
42
Vista Dall'alto
42
Pannello Comandi
42
Zona Flessibile
51
Come Zona Grande
52
Come Due Zone Indipendenti
52
Blocco Dei Comandi
52
Protezione Contro Il Surriscaldamento
53
Utilizzo del Timer
54
Cura E Pulizia
56
Specifiche Tecniche
59
Installazione
60
Wichtige Sicherheitsanweisungen
66
Herzlichen Glü Ckwunsch
72
Ansicht von Oben
73
Pflege und Reinigung
88
Hinweise und Tipps
89
Technische Merkmale
91
Ważne Instrukcje Dotyczące Bezpieczeństwa
98
Obsługa Płyty Indukcyjnej
109
Jako Duża Strefa
114
Related product manuals
Candy CI640C
11 pages
Candy CI640CB
11 pages
Candy CI640CBA
18 pages
Candy CI642CBB
137 pages
Candy CI 62 TP
248 pages
Candy CI630C/1
11 pages
Candy CI642C/E1
356 pages
Candy CI633C/E1
55 pages
Candy CIDC633TT
60 pages
Candy CIES644DC
198 pages
Candy CID 30/G3
376 pages
Candy CI642CWTT
334 pages