EasyManua.ls Logo

Candy CIS633SCTT - Page 177

Candy CIS633SCTT
290 pages
Print Icon
To Next Page IconTo Next Page
To Next Page IconTo Next Page
To Previous Page IconTo Previous Page
To Previous Page IconTo Previous Page
Loading...
PT-12
Alguma
s informações sobre cozinhar com
induçã
o
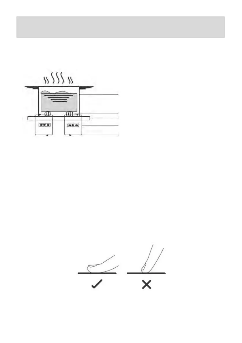
Cozinhar com indução é uma tecnologia segura, avançada, eficiente e
económica. Funciona por vibrações eletromagnéticas que geram calar
diretamente na panela, em vez de indiretamente através do indução da
superfície de vidro. O vidro fica quente apenas porque é aquecido pela panela.
Pane
la em ferro
Circu
ito magnético
Placa
de vidro cerâmico
Boina
de indução
C
o
r
r
entes indutivas
Antes de usar a sua placa de indução
Leia
este guia, especialmente a secção “Avisos de segurança”.
Remova qualquer película de proteção que se possa encontrar na placa de
indução.
Utilização dos controlos táteis
Os con
trolos respondem ao toque, pelo que não é necessário aplicar
pressão.
Use a ponta do dedo e não a unha.
Ouvirá um bip de cada vez que o toque for registado.
Assegure que os controlos estão sempre limpos, secos e que não se
encontra nenhum objeto (utensílio ou pano) a cobrir os mesmos. A mais
fina película de água pode dificultar o funcionamento dos controlos.

Table of Contents

Related product manuals