EasyManua.ls Logo

Candy CIS633SCTT - Painel de Controlo

Candy CIS633SCTT
290 pages
Print Icon
To Next Page IconTo Next Page
To Next Page IconTo Next Page
To Previous Page IconTo Previous Page
To Previous Page IconTo Previous Page
Loading...
PT-44
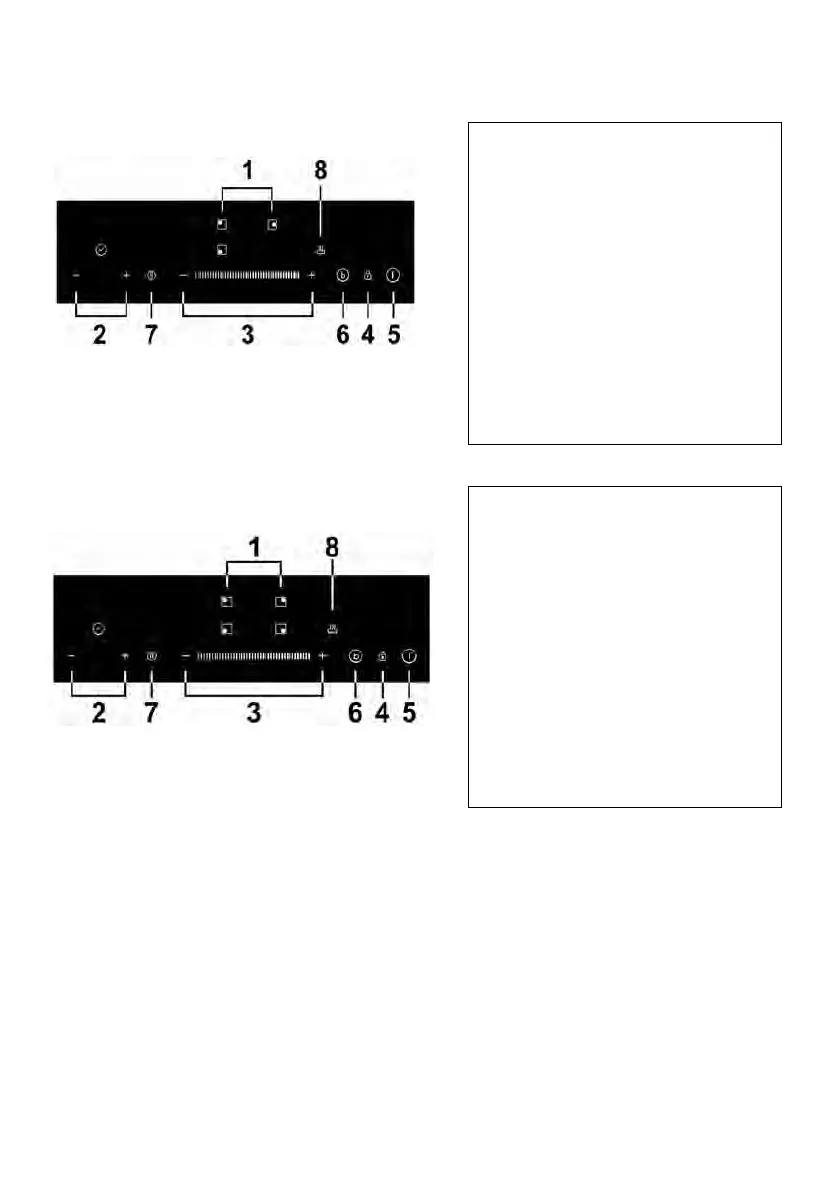
Painel de controlo
M
od
el
o
: CIS633SCTT
1. Contr
olos de seleção das
zonas de indução
2. Controlo temporizador
3. Chave de regulação da
poncia
4. Controlo chave de bloqueio
5. Controlo ON/OFF
(LIGAR/DESLIGAR)
6. Controlo da função Boost
7. Controlo da função
Stop/Iniciar
8. Controlo da função de
manter quente
Modelo
: CIS642SCTT
1. Cont
rolos de seleção das
zonas de indução
2. Controlo temporizador
3. Chave de regulação da
poncia
4. Controlo chave de bloqueio
5. Controlo ON/OFF
(LIGAR/DESLIGAR)
6. Controlo da função Boost
7. Controlo da função
Stop/Iniciar
8. Controlo da função de
manter quente

Table of Contents

Related product manuals