EasyManua.ls Logo

Carel uC2 - Applications; Air;Air Unit, Single Circuit; Air;Air Unit, Two Circuits

Carel uC2
20 pages
Print Icon
To Next Page IconTo Next Page
To Next Page IconTo Next Page
To Previous Page IconTo Previous Page
To Previous Page IconTo Previous Page
Loading...
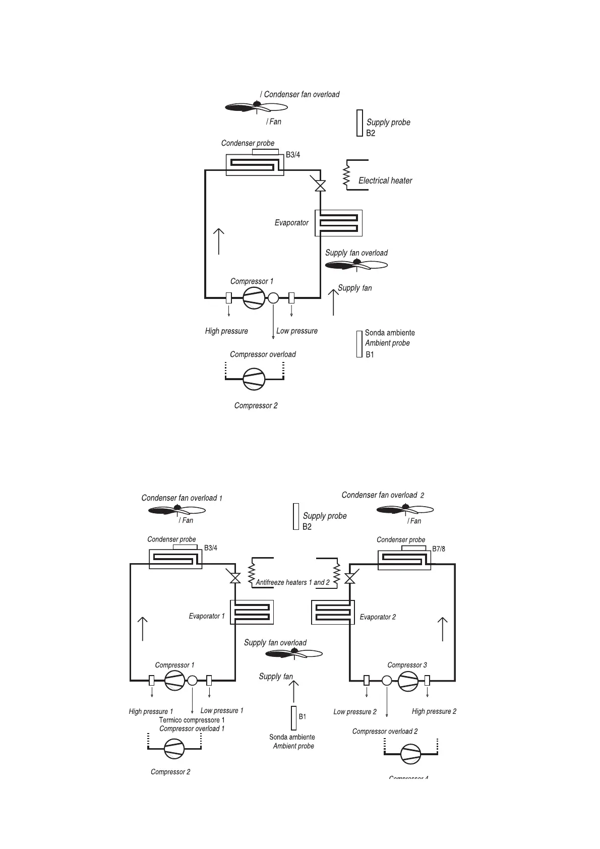
3. APLICACIONES
3.1 Unidad aire/aire, un circuito
3.2 Unidad aire/aire, dos circuitos
3.APPLICATIONS
3.1 Air/air unit, single circuit
3.2 Air/air unit, two circuits
12
µC
2
- cod. +030220420 - rel. 2.1 - 17.01.05
Térmico ventilador condensador
Ventilador
Sonda impulsión
Resistencia de recalentamiento
Evaporador
Sonda condensador
Térmico ventilador de impulsión
Compresor 1
Ventilador de impulsión
Baja presión
Alta presión
Térmico compresor
Compresor 2
Fig. 3.1.1
Térmico ventilador condensador 1
Ventilador
Térmico ventilador condensador 2
Sonda impulsión
Ventilador
Sonda condensador
Sonda condensador
Resistencias de
recalentamiento 1 y 2
Evaporador 1
Evaporador 2
Térmico ventilador de impulsión
Ventilador de impulsión
Compresor 1 Compresor 3
Alta presión 1
Alta presión 2
Baja presión 1
Baja presión 2
Compresor 2
Compresor 4
Térmico compresor 2
Fig. 3.2.1

Related product manuals