EasyManua.ls Logo

Carrier 17EX - Page 52

Carrier 17EX
120 pages
Print Icon
To Next Page IconTo Next Page
To Next Page IconTo Next Page
To Previous Page IconTo Previous Page
To Previous Page IconTo Previous Page
Loading...
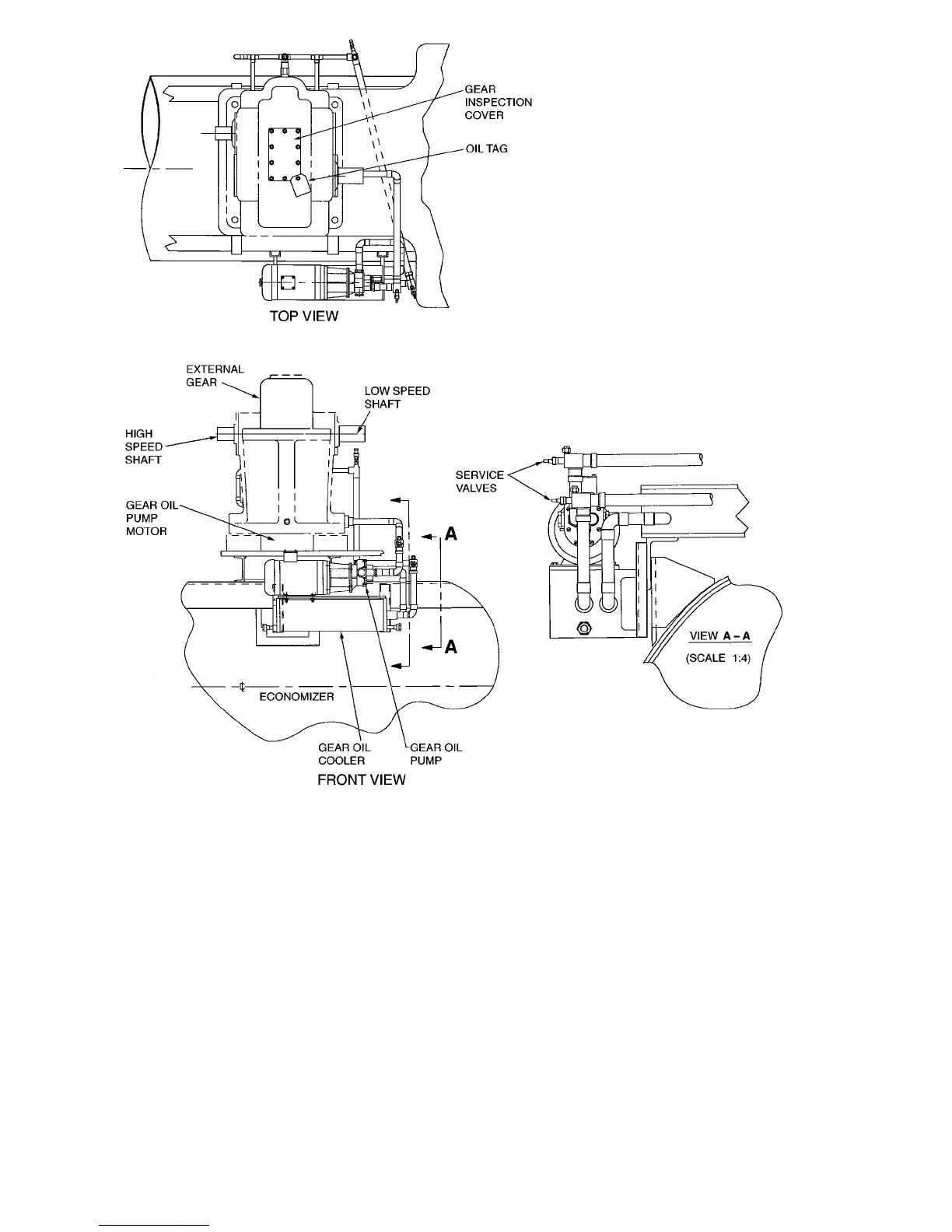
Fig. 27 External Gear Lubrication System
52

Table of Contents

Related product manuals