EasyManua.ls Logo

Carrier 38QH - Compressor Mechanical and Electrical Failures; Mechanical Failures

Carrier 38QH
20 pages
To Next Page IconTo Next Page
To Next Page IconTo Next Page
To Previous Page IconTo Previous Page
To Previous Page IconTo Previous Page
Loading...
24-VOLT
WIRING
LINE
VOLTAGE
PASS
SUPPLY
WIRE
THRU
METALLIC
LOOP
TWICE
ON
UNITS
WITH
NAMEPLATE
RLA
OF
14
AMPS
OR
LESS
SUPPLY
WIRE
THERMOSTAT
SUBBASE
INDOOR
UNIT
TERMINAL
BOARD
FIELD
LINE
VOLTAGE
SUPPLY
WIRE
OUTDOOR
UNIT
TERMINAL
BOARD
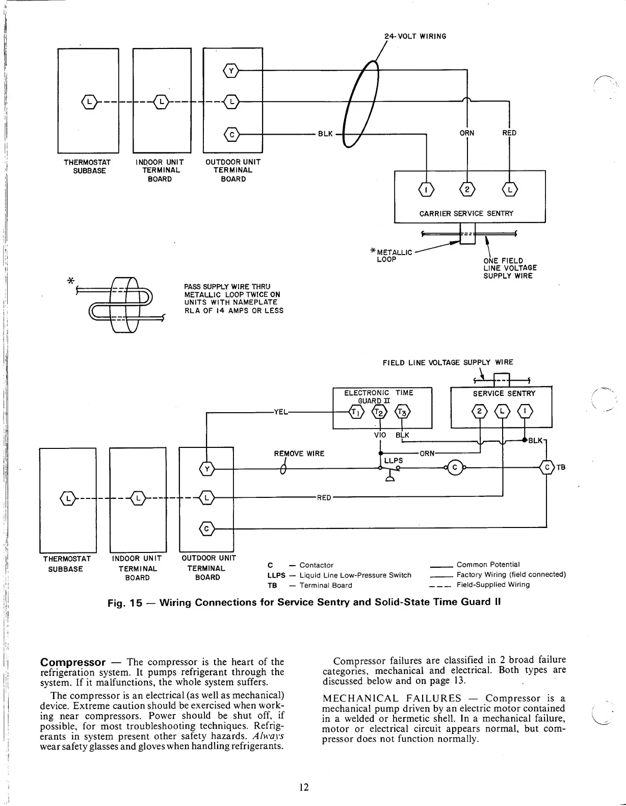
C
Contactor
_Common
Potential
LLPS
Liquid
Line
Low-Pressure
Switch
-
Factory
Wiring
(field
connected)
TB
Terminal
Board
_Field-Supplied
Wiring
Fig.
15
Wiring
Connections
for
Service
Sentry
and
Solid-State
Time
Guard
II
Compressor
The
compressor
is
the
heart
of
the
refrigeration
system.
It
pumps
refrigerant
through
the
system.
If
it
malfunctions,
the
whole
system
suffers.
The
compressor
is
an
electrical
(as
well
as
mechanical)
device.
Extreme
caution
should
be
exercised
when
work¬
ing
near
compressors.
Power
should
be
shut
off,
if
possible,
for
most
troubleshooting
techniques.
Refrig¬
erants
in
system
present
other
safety
hazards.
Always
wear
safety
glasses
and
gloves
when
handling
refrigerants.
Compressor
failures
are
classified
in
2
broad
failure
categories,
mechanical
and
electrical.
Both
types
are
discussed
below
and
on
page
13.
MECHANICAL
FAILURES
Compressor
is
a
mechanical
pump
driven
by
an
electric
motor
contained
in
a
welded
or
hermetic
shell.
In
a
mechanical
failure,
motor
or
electrical
circuit
appears
normal,
but
com¬
pressor
does
not
function
normally.
12

Other manuals for Carrier 38QH

Related product manuals