EasyManua.ls Logo

Carrier 48FP - Page 37

Carrier 48FP
116 pages
Print Icon
To Next Page IconTo Next Page
To Next Page IconTo Next Page
To Previous Page IconTo Previous Page
To Previous Page IconTo Previous Page
Loading...
37
GRA
VIO
2
1
1
2
J2 J1
OUTSIDE AIR
RELATIVE HUMIDITY
ACCESSORY
2
1
12
J2 J1
SPACE/RETURN
RELATIVE HUMIDITY
TB4
BLU
ORN
CH. 34
PSIO NO. 2
CH. 33
24V
FIELD-SUPPLIED
24-V ISOLATED
POWER SUPPLY
FIELD-SUPPLIED
24-V ISOLATED
POWER SUPPLY
24V
3
4
LEGEND
DSIO —
Relay Module
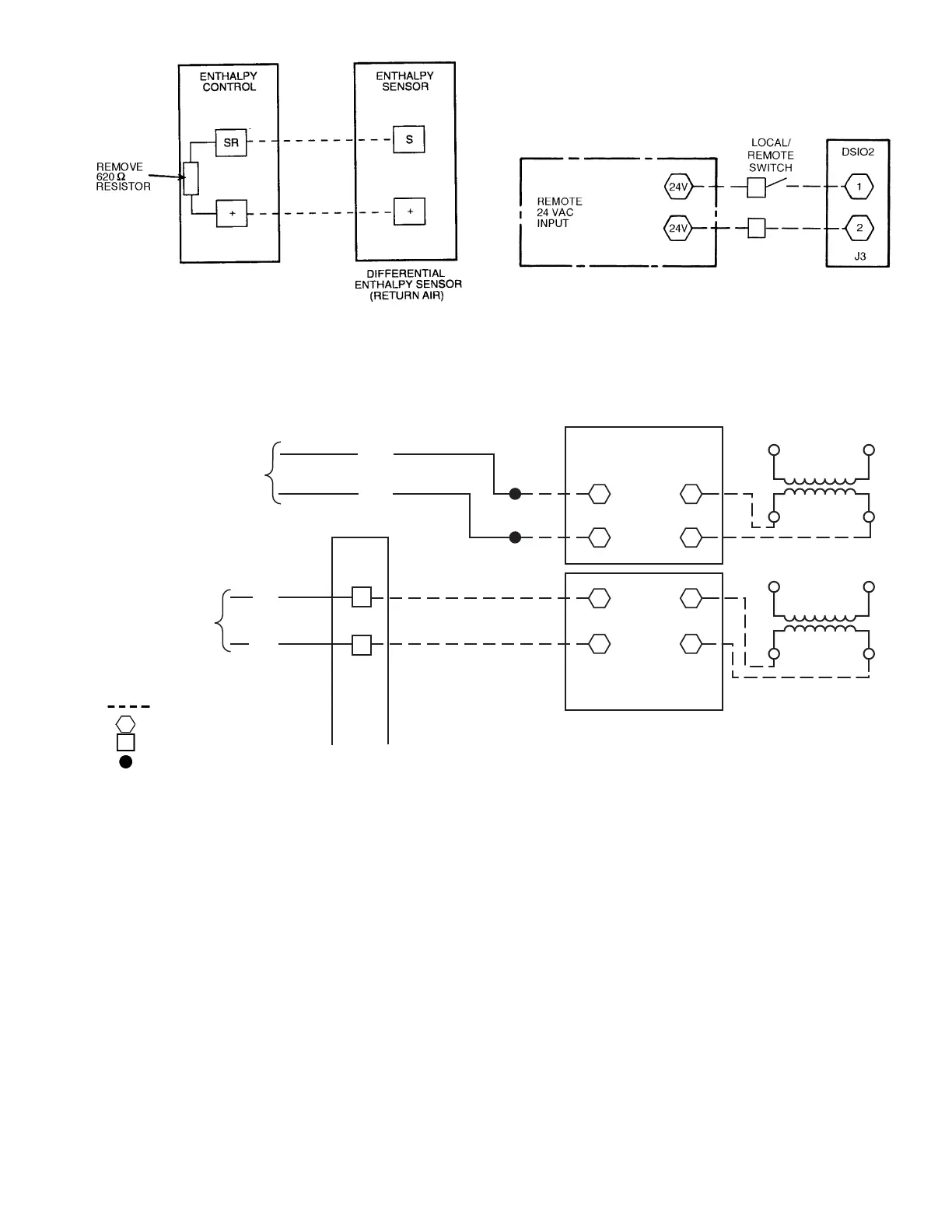
Fig. 18Remote START/UNOCCUPIED Control
LEGEND
TB
Terminal Block
Field Wiring
Component Terminal
Terminal Block Terminal
Field Splice
Fig. 19 — Accessory Humidity Control
Fig. 17 — Differential Enthalpy Sensor
NOTE: TB4 located in auxiliary control box.
LEGEND
DSIO —
Relay Module
Fig. 18 — Remote START/UNOCCUPIED Control

Table of Contents

Related product manuals